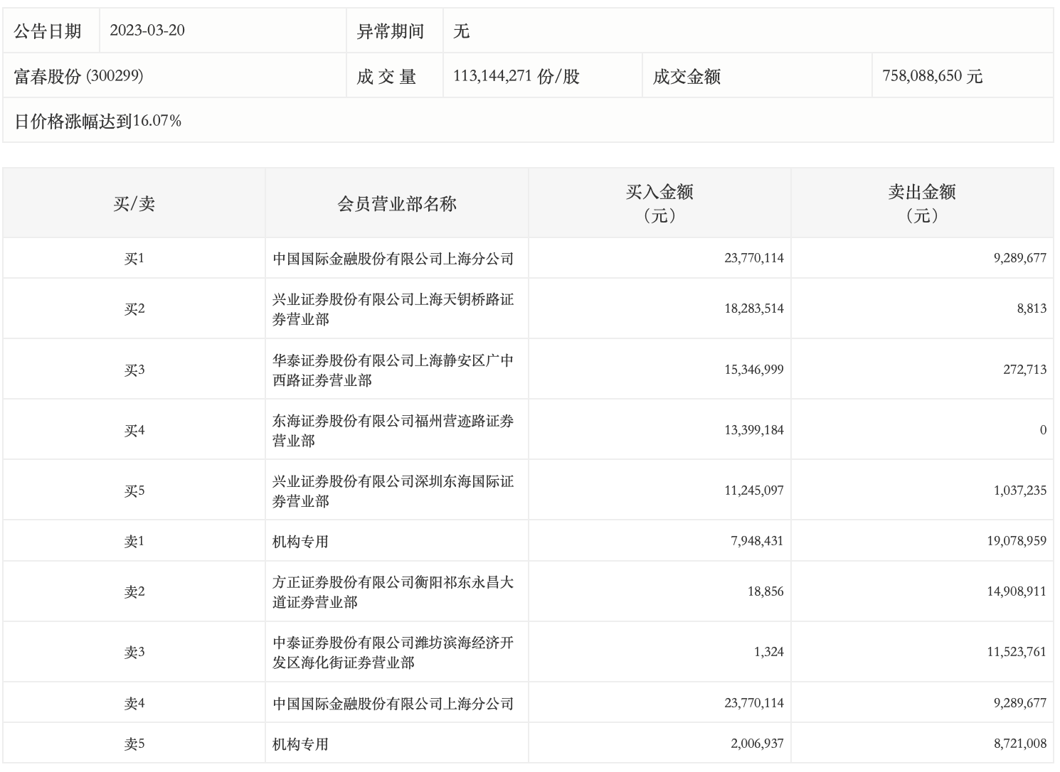
3月20日,富春股份今日涨16.07%,龙虎榜数据显示,上榜营业部席位全天成交1.57亿元,占当日总成交金额比例为20.69%。其中,买入金额为9202.05万元,卖出金额为6484.11万元,合计净买入2717.94万元。
具体来看,机构买入995.54万元,卖出2780.0万元,合计净卖出1784.46万元。此外,中国国际金融上海分公司、兴业证券上海天钥桥路证券营业部分别买入2377.01万元、1828.35万元;方正证券衡阳祁东永昌大道证券营业部、中泰证券潍坊滨海经济开发区海化街证券营业部分别卖出1490.89万元、1152.38万元。

评论