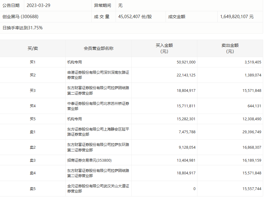
3月29日,创业黑马今日涨11.27%,龙虎榜数据显示,上榜营业部席位全天成交2.64亿元,占当日总成交金额比例为16.02%。其中,买入金额为1.53亿元,卖出金额为1.11亿元,合计净买入4142.71万元。
具体来看,机构买入6620.33万元,卖出1582.79万元,合计净买入5037.54万元。此外,申港证券深圳深南东路证券营业部、东方财富证券拉萨团结路第二证券营业部分别买入2214.31万元、1880.49万元;东方证券上海静安区延平路证券营业部、东方财富证券拉萨东环路第二证券营业部分别卖出2939.67万元、1686.83万元。

评论