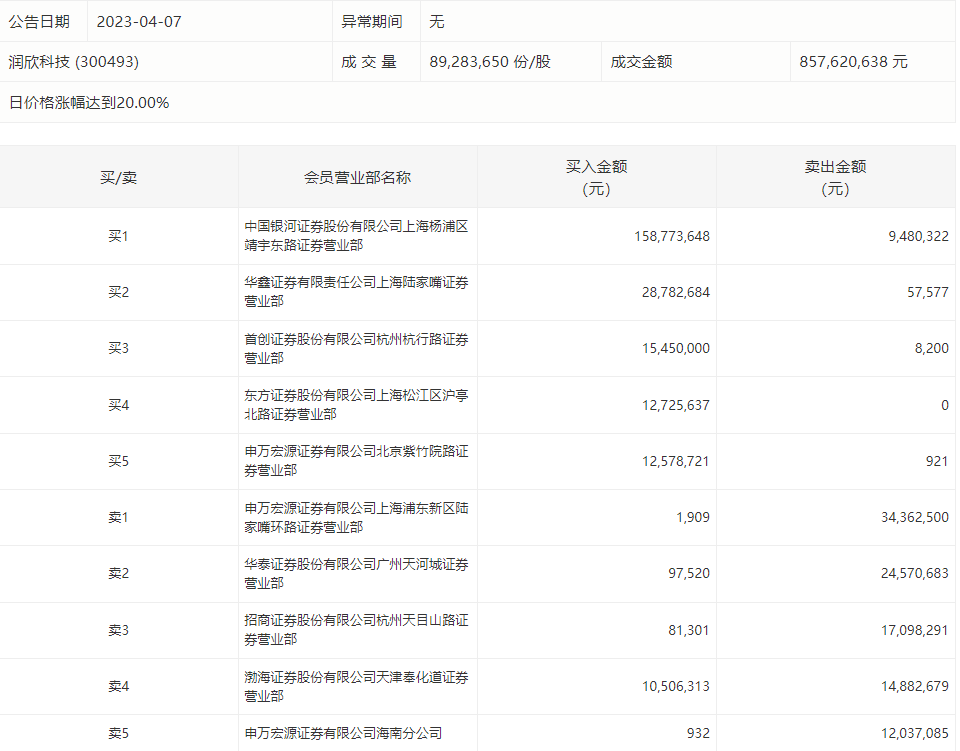
4月7日,润欣科技今日涨停,龙虎榜数据显示,上榜营业部席位全天成交3.51亿元,占当日总成交金额比例为40.99%。其中,买入金额为2.39亿元,卖出金额为1.12亿元,合计净买入1.27亿元。
具体来看,中国银河证券上海杨浦区靖宇东路证券营业部、华鑫证券上海陆家嘴证券营业部分别买入1.59亿元、2878.27万元;申万宏源证券有限公司上海浦东新区陆家嘴环路证券营业部、华泰证券广州天河城证券营业部分别卖出3436.25万元、2457.07万元。

来源:界面新闻
4月7日,润欣科技今日涨停,龙虎榜数据显示,上榜营业部席位全天成交3.51亿元,占当日总成交金额比例为40.99%。其中,买入金额为2.39亿元,卖出金额为1.12亿元,合计净买入1.27亿元。
具体来看,中国银河证券上海杨浦区靖宇东路证券营业部、华鑫证券上海陆家嘴证券营业部分别买入1.59亿元、2878.27万元;申万宏源证券有限公司上海浦东新区陆家嘴环路证券营业部、华泰证券广州天河城证券营业部分别卖出3436.25万元、2457.07万元。

评论