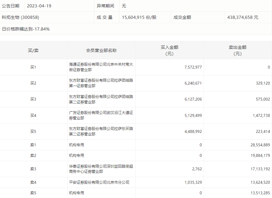
4月19日,科拓生物今日跌17.84%,龙虎榜数据显示,上榜营业部席位全天成交1.26亿元,占当日总成交金额比例为28.72%。其中,买入金额为3059.74万元,卖出金额为9531.03万元,合计净卖出6471.29万元。
具体来看,机构合计净卖出6195.24万元。此外,华泰证券深圳益田路荣超商务中心证券营业部、平安证券北京市分公司分别卖出1713.32万元、1362.45万元;海通证券北京中关村南大街证券营业部、东方财富证券拉萨团结路第一证券营业部分别买入757.30万元、624.07万元。

评论