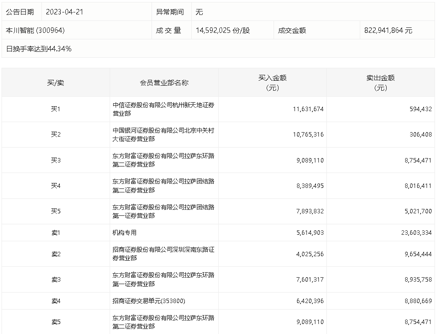
4月21日,本川智能今日涨9.81%,龙虎榜数据显示,上榜营业部席位全天成交1.45亿元,占当日总成交金额比例为17.64%。其中,买入金额为7143.13万元,卖出金额为7376.76万元,合计净卖出233.63万元。
具体来看,机构买入561.49万元,卖出2360.33万元,合计净卖出1798.84万元。此外,中信证券杭州新天地证券营业部、中国银河证券北京中关村大街证券营业部分别买入1163.17万元、1076.53万元;招商证券深圳深南东路证券营业部、东方财富证券拉萨东环路第一证券营业部分别卖出965.44万元、893.58万元。

评论