编辑 | summer
-最新融资-

欧洲电动车品牌Kate获700万欧元天使轮融资


图片来源:品牌官方
近日,欧洲电动车品牌Kate宣布获得700万欧元天使轮融资,由Julien Lemoine、Emmanuelle Brizay、Romain Afflelou等投资。
Kate成立于2022年,主要生产轻型环保电动汽车。品牌旗舰产品K1专为郊区居民短途出行所设计,配备四个座位,电池续航里程为200公里,最高时速为90公里/小时,预计将于2023年第三季度上市。(品牌方舟)
小编评:
从市场规模来看,欧洲近84%的人们都在使用大型车辆出行,为了提供一个更高效、更环保的车型解决绿色出行问题,Kate应运而生。凭借先进的产品理念和可持续战略,品牌赢得资金助力产品快速面世。

未米生物完成数千万元Pre-A轮融资


图片来源:品牌官方
近日,未米生物科技有限公司完成数千万元Pre-A轮融资,由厚新健投独家投资。本轮资金将主要用于管线推进及团队人才扩充等方面。
未米生物成立于2017年,是一家专注于基因编辑和生物育种技术创新研发的高新技术企业。公司致力于通过发展精准育种技术,破解基因密码,赋能我国粮食安全。目前,未米生物已在玉米、水稻、大豆和棉花等十余种作物上开发了多项具有独立自主知识产权的递送技术。(35斗)
小编评:
值得注意的是,高蛋白玉米等产品布局为解决中国饲用蛋白不足提供了新的思路,开辟了植物合成生物的新领域。未米生物团队凭借完善的技术体系,勇于探索新的赛道发展,自然可以得到资本的关注。

智能硬件品牌「乐天派」1900万元天使轮融资

近日,智能硬件品牌「乐天派」宣布完成1900万元人民币天使轮融资,参投方包括深圳联泰汇佳、原小米联合创始人黎万强。本轮融资将用于加强产品、技术研发和海外市场拓展等方面。
乐天派成立于2022年,是一家AI硬件产品研发的个人消费类品牌。产品围绕人和家庭而设计,通过AI赋能,旨在打造出充满用户体验,拥有极致的人机交互的产品。目前,“乐天派桌面机器人”已进入收尾阶段,预计在2023年5月后上市。(品牌方舟)
小编评:
从发展前景来看,中国智能家居行业市场规模预计到2023年将超过2000亿元。其中,智能语音助手的市场规模也在不断扩大。乐天派针对中国用户需求和文化定制特色产品,更能满足国内消费者的要求。
-上市动态-

强生旗下Kenvue申请在美上市


图片来源:品牌官方
日前,消费品巨头强生旗下消费者健康产品公司Kenvue在美国上市路演已于周一启动,该公司计划以KVUE为股票代码,申请在纽交所上市,预计最快下个月完成上市。知情人士表示,Kenvue计划开始与潜在投资者会面,以便从IPO中筹集35亿美元或更多资金。
Kenvue业务涉及三个领域:个人护理、皮肤健康/美容和基本健康。品牌组合包括泰诺、邦廸、露得清、艾惟诺(Aveeno)、力克雷(Nicorette)、驱特异(Zyrtec)和李斯德林等。(智通财经)
小编评:
近年来,制药和医疗设备业务的销售增长和利润率普遍较为优秀。Kenvue旗下涵盖品牌恰好符合市场需求和消费者理念,未来如果独立上市成功后,将成为行业新的领军者。

沃尔玛出售大码品牌Eloquii


图片来源:品牌官方
近日,沃尔玛宣布将旗下大码女装品牌Eloquii出售给FullBeauty,这也是自出售男装品牌Bonobos后,沃尔玛本月卖掉的第二个时尚品牌。
Fullbeauty成立于1901年,是美国最大的大尺码成衣直销公司,覆盖成衣、内衣、泳衣、鞋袜到家庭装饰品等多个品类。旗下拥有Woman Within、Roaman's、Jessica London、swimsuitsforall、King Size和Brylane Home等品牌。Eloquii成立于2011年,是一个数字原生垂类品牌,专注提供14码以上的服饰。(品牌方舟)
小编评:
目前美国大码女装市场规模达810亿美元,且增长速度非常迅猛,是其他女装市场的三倍。对于FullBeautyBrands而言,此次收购将使品牌进一步扩大其在大码女装行业的影响力。

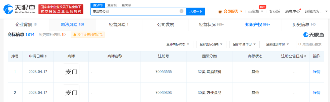
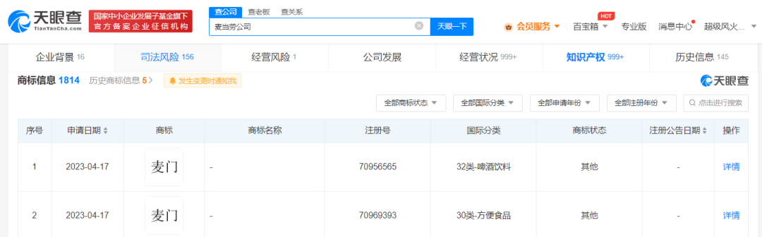
麦当劳申请注册麦门商标


天眼查App显示,近日,麦当劳公司申请注册2枚“麦门”商标,国际分类为啤酒饮料、方便食品,当前商标状态均为申请中。
“x门”是由“阿门”演变而来,表示一种由衷的感谢,“麦门”加上一个双手合十的表情包是指对麦当劳的感谢和肯定。(天眼查)
小编评:
继肯德基“疯四文学”之后,“麦门文学”频频出圈,消费者促使品牌注册商标,加深文化调性,为其发展融入新的涵义,进一步加深了麦当劳的用户粘性。

雀巢2023年第一季度总销售额增长5.6%


图片来源:品牌官方
日前,雀巢公布2023年第一季度业绩,数据显示,总销售额增长5.6%,达到235亿瑞士法郎,折合人民币约1737.91亿元,有机增长率达到9.3%,实际内部增长率为-0.5%,定价贡献率为9.8%,反映了显著的成本通胀。(品牌官方)
小编评:
需要注意的是,这份财报包含了雀巢大中华大区成立满一周年后的首份季度业绩,因此外界极为关注。通过最新数据可以看到,雀巢中国通过启用新架构后,业务取得了强劲开局。

立顿进军酒精饮料市场


图片来源:品牌官方
近日,立顿通过推出Lipton Hard Iced Tea将业务扩展到酒精饮料市场。新品由冲泡的立顿茶、天然香料和三重过滤麦芽制成,是一种5%ABV的非碳酸饮料,共含四种口味:Half&Half,柠檬水冰茶混合物,柠檬、桃子和草莓,将以12罐装多种包装或单一罐装形式出售,目前可在指定的美国零售商处购买。(Foodbev)
小编评:
如今,众多软饮料巨头纷纷构建第二增长曲线,积极涉足酒精饮料领域。立顿作为全球最大的茶叶品牌,已成为仅次于可口可乐和百事可乐的全球第三大非酒精饮料企业。如今入局酒精饮料市场将重构竞争格局,也有利于自身多栖发展。

安井食品2022年营收超121亿


图片来源:品牌官方
4月24日晚,安井发布2022年年度报告,报告期内公司实现营业收入121.83亿元,较去年同期92.72亿元,增长31.39%;归属于上市公司股东的净利润11.01亿元,较去年同期6.82亿元,增长61.37%。
近年来,安井充分利用产能优势,加BC兼顾、均衡发展的产品矩阵和渠道资源共同作用,不断提升传统业务营业收入增长。(品牌官方)
小编评:
此次营收数据意味着安井成为了速冻食品行业第一家营收超百亿的龙头企业,历经二十余年时间,安井终于步入了百亿阵营,达成此前设立的目标。
-人事动态-

Chanel美国公司首席运营官离职


图片来源:品牌官方
日前,Chanel美国公司发布声明,首席运营官John Galantic将于6月30日离职,目前已开始寻找该职位的继任者。
John Galantic于2006年加入Chanel担任美国公司总裁兼首席运营官,主要负责公司在美国的业务以及全球数字服务相关事务。在加入香奈儿之前曾担任Coty US公司和Coty Beauty公司总裁。(女装日报)
小编评:
在John Galantic的领导下,Chanel开创了以客户为中心的转型模式,更好地提升了客户的体验及品牌的盈利能力。谁能成为新的继任者,维持现有局面并进行突破,可能还需要再等一等。
TOP HER|记录女性成长价值与商业价值
垂类精准媒体|她经济整合营销|数据增长决策|高净值社群经济
北京·上海·香港·纽约·伦敦·温哥华|topher@topherglobal.com


评论