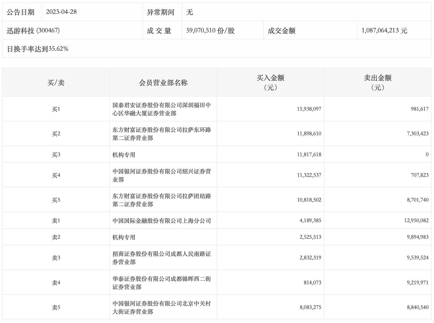
4月28日,迅游科技今日涨14.9%,龙虎榜数据显示,上榜营业部席位全天成交1.48亿元,占当日总成交金额比例为13.65%。其中,买入金额为8023.99万元,卖出金额为6813.97万元,合计净买入1210.02万元。
具体来看,机构买入1434.31万元,卖出989.5万元,合计净买入444.81万元。此外,知名游资现身龙虎榜,赵老哥(中国银河证券股份有限公司绍兴证券营业部)净买入1061.47万元。此外,国泰君安证券深圳福田中心区华融大厦证券营业部、东方财富证券拉萨东环路第二证券营业部分别买入1593.81万元、1189.86万元;中国国际金融上海分公司、招商证券成都人民南路证券营业部分别卖出1295.01万元、953.95万元。

评论