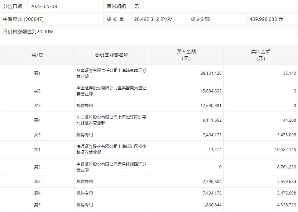
5月8日,中船汉光今日涨停,龙虎榜数据显示,上榜营业部席位全天成交1.12亿元,占当日总成交金额比例为23.92%。其中,买入金额为7778.95万元,卖出金额为3463.63万元,合计净买入4315.32万元。
具体来看,机构买入2485.05万元,卖出1537.35万元,合计净买入947.7万元。此外,华鑫证券上海陆家嘴证券营业部、国金证券宜宾蜀南大道证券营业部分别买入2813.14万元、1568.46万元;海通证券上海徐汇区柳州路证券营业部、中泰证券天津红旗路证券营业部分别卖出1042.21万元、876.13万元。

评论