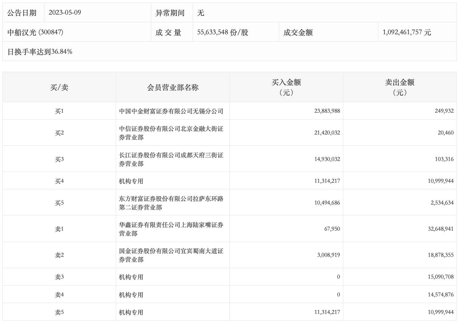
5月9日,中船汉光今日涨19.17%,龙虎榜数据显示,上榜营业部席位全天成交1.8亿元,占当日总成交金额比例为16.5%。其中,买入金额为8511.98万元,卖出金额为9510.12万元,合计净卖出998.13万元。
具体来看,机构买入1131.42万元,卖出4066.55万元,合计净卖出2935.13万元。此外,中国中金财富证券有限公司无锡分公司、中信证券北京金融大街证券营业部分别买入2388.40万元、2142.00万元;华鑫证券上海陆家嘴证券营业部、国金证券宜宾蜀南大道证券营业部分别卖出3264.89万元、1887.84万元。

评论