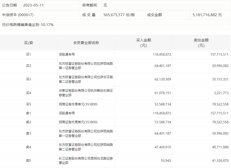
5月11日,中油资本今日跌停,龙虎榜数据显示,上榜营业部席位全天成交8.24亿元,占当日总成交金额比例为15.9%。其中,买入金额为4.07亿元,卖出金额为4.17亿元,合计净卖出947.56万元。
具体来看,深股通专用、招商证券交易单元(353800)分别卖出1.58亿元、7852.26万元;深股通专用、东方财富证券拉萨团结路第一证券营业部分别买入1.18亿元、6440.12万元。

来源:界面新闻
5月11日,中油资本今日跌停,龙虎榜数据显示,上榜营业部席位全天成交8.24亿元,占当日总成交金额比例为15.9%。其中,买入金额为4.07亿元,卖出金额为4.17亿元,合计净卖出947.56万元。
具体来看,深股通专用、招商证券交易单元(353800)分别卖出1.58亿元、7852.26万元;深股通专用、东方财富证券拉萨团结路第一证券营业部分别买入1.18亿元、6440.12万元。

评论