界面新闻记者 |
界面新闻编辑 | 谢欣
尽管医美领域的监管不断推出,但做医美却“被掉包”这一医美乱象依然存在。
近期,有消费者和界面新闻称,自己在知名医美机构光博士做医美项目时,所购买的“进口水光针”被换成了“国产水光针”。
而更为严重的是,在向媒体曝光前,消费者本人也还没有意识到,无论是其购买的进口水光针、还是被调包的国产产品,这两款产品实际上都不是可以用于注射的产品。
而据爆料,在该医美机构的措辞之中,医美机构工作人员的合规经营意识也非常淡薄。违规产品还被当作是优质产品用来“讨好”老客户,违规注射的问题也依旧在出现。
由此见得,医美注射品类项目当前仍然存在混乱。并且,要治理好医美乱象,单是依靠法规和监管的阶段性完善远远不够,这个行业的经营者、从业者乃至消费者,都有需要反思和提升的地方。
当前,前述消费者仍在向监管等部门维权且没有得到结果。
做医美被“调包”
赵女士(化名)是上海光博士医疗美容医院(以下简称“上海光博士”)的老客户,该机构位于上海市浦东新区民生路1399号。因为交通便利,赵女士在2021年之后就一直在该院消费医美项目。
据赵女士介绍,在2022年6月11日,她在上海光博士购买了六次“术唯可补水”、“祛黑小棕瓶/美白”项目;消费记录显示其当日付款为2377元、4420元。不过,赵女士表示,由于时间久远加之其还有光电项目,所以项目的具体价格信息其记得不太清楚。

今年4月6日,赵女士计划做“祛黑小棕瓶/美白”,也就是“英诺小棕瓶水光针项目”,使用的产品应当包括“英诺小棕瓶”。此前,她已经做过了两次该项目。
据赵女士回忆,4月6日下午,其在该机构预约了“英诺小棕瓶水光针项目”。但是,敷完麻药后,赵女士发现工作人员给自己准备的药品和以往使用的存在差异。新的产品包装盒上标注着“道趣芙琳”的字样,不再是“英诺小棕瓶”。

于是,赵女士随即询问工作人员为何换药,工作人员表示不清楚。之后,赵女士要求与上海光博士有关领导沟通。等待约30分钟后,一位徐姓主任过来与其沟通。赵女士表示,其为上海光博士运营副总经理徐向红。
在赵女士提供的录音材料里,徐主任表示,在“3·15”之后,妆字号的产品不能进行破皮注射,由于英诺就是妆字号的产品,所以该机构不再使用;在赵女士消费之前,该机构都会与客户沟通,提前告知需要替换产品这一情况。赵女士之所以出现“被掉包”,是因为“忘记了”。
话语间,徐主任也坦承,如果有一些老客户“只认英诺”,并坚持使用,机构是有留货的,可以给其偷偷使用。她还暗示,上海属于监管更严格的城市,不能明目张胆地违规。
当前,赵女士已经在大众点评和新氧平台上做了评价。大众起初表示,需要提交消费证据,然后证据会进行审核。当前,其评论已经在大众点评得到显示。而新氧方面则向赵女士表示,新氧会对商家进行惩处,但处罚不公开。
此外,上海市市场监督管理局在5月12日向赵女士表示,她的举报仍在处理中。
今年5月9日,就“英诺小棕瓶”、“道趣芙琳小棕瓶”、水光针项目,界面新闻记者依据光博士官网显示的联系方式,致电光博士医院集团,该号码无人接听。随后,记者又致电光博士上海分公司,接线人员表示,已将咨询问题做记录,随后相关负责人将在1-2日内联系回复。
截至发稿时,界面新闻没有接到相关回复。
光博士官网显示,光博士医院集团成立于2010年,是一家聚焦皮肤医学美容的、集“医、教、研”于一体的医疗服务集团。发展至今,光博士目前在国内有两家医院,分别是上海光博士医疗美容、重庆光博士医疗美容,它们的定位均为“光博士 临床科研教学医院”。
天眼查则显示,上海光博士医疗美容医院有限公司(下称“上海光博士医疗美容医院”)成立于2012年,在2019年前名字为“上海光博士医疗美容医院有限公司”。其由光博士医院管理集团有限公司100%持股,最新的法定代表人为罗召芬,实控人为何丽英。
何丽英也是光博士医院集团的创始人。当前,在雪球上还能检索到其20岁南下打工,一路摸爬滚打,甚至故意到太阳下暴晒几小时掌握了色斑的生长规律的“祛斑皇后养成记”。
据天眼查,上海光博士经营范围包括医疗服务和生活美容服务。同时光博士集团官网显示,上海光博士医疗美容机构还是“黄褐斑综合治疗临床科研”承办单位。
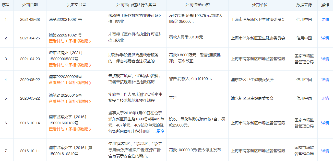
不过,天眼查的信息也显示,上海光博士的行政处罚实在不少。其中涉及了不少违规使用医疗器械、违规进行广告发布、不规范执业、侵害消费者合法权益等。


例如,未按规定告知患者病情、医疗措施、医疗风险、替代医疗方案等其他违反《医疗器械临床使用管理办法》规定的行为;发布广告妨碍社会公共秩序或者违背社会良好风尚等。历史行政处罚还包括:未取得《医疗机构执业许可证》擅自执业、以欺诈手段提供商品或者服务的,侵害消费者合法权益的等等。
从集团层面看,光博士有的不仅仅是医院。官网显示,该集团旗下十余个终端品牌分布医美产业链上下游,除了两家医美医院,还有三家皮肤医学研究所、一家技能培训机构以及生物科技公司、医疗器械公司、健康服务公司等14家。
光博士的技能培训机构指的是“上海全联美容有限公司”。在全联学院的官网上,显示其隶属于上海全联美容有限公司,公司为全国工商联、中整形协会中心合作单位,主营范围有光电培训,美容师培训,美容基础知识培训等。
此外,光博士旗下还定位了诸多细分品牌,例如,捷丽生物是居家护肤品牌,盛美丽人是高端医美品牌,另一品牌奈菲尔(Miss Nefer)美容连锁机构还曾经提出了“分龄美容管理”。
而从公司的命名和大量曾经的报道可见,激光祛斑是该公司在起步阶段就试图进入的市场。随后,发展成为“综合性美业集团”是该公司的目标。不过,近三年内,该集团的曝光量不及2019年之前。
另据社交媒体,上海光博士医疗美容医院进行的“英诺小棕瓶”或者是“道趣芙琳小棕瓶项目”都不是个例。当前,在社交媒体上,有不少用户晒出了体验评论。

涂抹用化妆品不得用于注射
赵女士做的水光针项目是近年国内较火的医美项目。而在社交媒体上,有关于英诺小棕瓶的声音并不少。

从品牌上看,官网显示,英诺皮肤世家品牌成立于1898年,由创始人Antonio Fita Trías从西班牙巴塞罗那的一家药店和家庭实验室开始,目前已进驻全国3000+线下门店,主要业务为求美者直接解决肌肤面临的各种问题并提供全程肌肤问题解决方案。
官网还显示,英诺皮肤世家在中国包括线上、线下产品,以西班牙进口为主;英诺皮肤世家目前是由虹菘集团及其子公司上海依娜生物科技有限公司为大中国区总代理。
但实际上,“英诺小棕瓶”并不是一个合规的水光针类产品。
据英诺皮肤世家官网,英诺皮肤世家小棕瓶的核心成分包括:维生素C、谷胱甘肽、硫辛酸、超氧化物歧化酶(SOD)和透明质酸钠。其中,以维生素C、谷胱甘肽为代表的成分,是“美白针”的常备成分。
界面新闻此前报道,国内目前就没有合法获批的“美白针”,国内市面上的“美白针”实则都是三无产品。而“水光针”实则也是一个指代不清,在实际操作中被用作是营销名称的品类,并非合法获批的产品品类。
值得注意的是,消费者在社交媒体分享水光针体验时,更多的关注点均为“是否变白了”、“色斑有无消退”、“痛不痛”,而对于产品的具体成分,对于是什么成分用在自己的脸上,鲜有了解和关注。
针对此乱象,2022年3月30日国家药监局曾发布《关于调整《医疗器械分类目录》部分内容的公告(2022年第30号)》(以下简称:《调整医械目录通知》)。其中首先明确,整形用注射填充物,通常由注射器以及预装在注射器中的填充材料制成,要按第三类医疗器械监管;整形美容用注射材料,同样按第三类医疗器械监管。
并且,前述《调整医械目录通知》还“点名”表示,作为水光针主要成分的注射用透明质酸钠溶液,用于注射到真皮层,主要通过所含透明质酸钠等材料的保湿、补水等作用,改善皮肤状态,按照第三类医疗器械监管。
简单说来就是,注射类医美项目用到的“针”,例如“水光针”,都按照三类器械监管,妆字号产品不可以用于注射。而具体到成分,注射用透明质酸钠溶液是三类器械。
这也意味着,当前市面上打着“水光针”名义的产品,其究竟包含哪些成分,是否都可以用于注射,是否按照规定进行了注册,都是需要关注的。而监管对于此类产品及其成分的管理应当做更深入的管控。
5月11日,英诺皮肤世家在回复界面新闻采访时表示,“英诺小棕瓶”来自西班牙,在欧洲一直是以医美水光的方式使用;目前网络上关于“英诺小棕瓶”的使用介绍都是参考国外方式;由于中国法规与国外不同,根据监管要求“英诺小棕瓶”是以化妆品进入中国市场进行销售的,品名为“英诺皮肤世家慕颜莹润精华液”,使用方式为涂抹;在国内现行法规下,欧美水光类产品均无法取得医疗器械批件。
英诺皮肤世家表示,不管是法规要求还是公司的使用建议,都不推荐通过注射使用“英诺小棕瓶”;“英诺小棕瓶”在国内的销售推广过程中,一直按照化妆品的方式进行涂抹使用。但该公司也坦言,医美机构和渠道商企业只要经营范围含“化妆品”,就可以正常经营销售“英诺小棕瓶”及其他化妆品。
也就是说,作为销售方,英诺皮肤世家也明确承认并知晓,“英诺小棕瓶”只能作为化妆品涂抹,而不得用于注射使用。
被调包的国产货实际为医用敷料
与“英诺小棕瓶”是以化妆品身份进入中国市场进行销售,但在医美机构使用过程中存在不合规使用的情况相比,“道趣芙琳小棕瓶”的使用甚至更加灰色。
据新氧平台信息显示,国内使用道趣芙琳产品的用户不在少数。用户体验中,评论关键词包括:“医美光电项目术后护理”、“全面部涂抹”、“国家二类医疗器械产品”、“主要材料为透明质酸钠”等。
依据赵女士提供的产品包装盒,这是一个银灰色的包装盒。其中,有一面写着该款产品的商标名“道趣芙琳”;另一面写着产品名称为“医用修复敷料”,型号规格为“贴敷型 圆形(Y)Y-2”。
除此之外,道趣芙琳产品包装盒上并无其他信息,包括产品获批的境内医疗器械注册号、产品的主要成分、适用范围、注册人名称、审批部门,都没有表述。仅从赵女士的供图来看,该产品在单独包装时像极了“三无产品”,消费者很难清晰了解其具体的产品成分。

当前,若是在国家药监局检索“医用修复敷料”,仅有八款产品的显示了获批信息。其中,若是规格满足“贴敷型 圆形(Y)Y-2”这一条件,就只有注册编号为“陕械注准20182640059”,注册人名称为“西安汇智医疗集团有限公司”的一款产品。
其主要组成成分一栏显示为:该产品分为贴敷型和涂抹型;贴敷型由透明质酸钠和无纺布组成;涂抹型由透明质酸钠和纯化水组成;产品为非无菌。其适用范围一栏显示为:该产品适用于激光、光子嫩肤、微晶磨削、果酸活肤术后的护理。

这体现了,该款产品的成分非常普通。并且,其存在还是“绿叶”作用,即本意是当消费者完成光电类医美项目后,用来贴敷和涂抹。
需要指出的是,从新氧平台上的信息可以证实,这款来自西安汇智医疗集团有限公司的普通医用敷料也就是所谓的“道趣芙琳小棕瓶”。
据新氧APP对道趣芙琳医用修复敷料、道趣芙琳小棕瓶的介绍,其介绍均包含“NMPA认证”。与道趣芙琳小棕瓶仅有“NMPA认证”(NMPA指国家药监局)不同,道趣芙琳医用修复敷料的认证还被强调为“二类医疗器械”。并且,产品产地中国,来自上海道趣生物科技有限公司。

然而,若是点击它们的“NMPA认证”一栏,画面显示的都是“陕械注准20182640059”,注册人系“西安汇智医疗集团有限公司”的那一款产品。

天眼查显示,西安汇智医疗集团有限公司就是原先的西安汇智医疗器械有限公司,成立于2012年,曾经注册的产品还包括电子尿量监护仪、智能血氧监护仪。2022年起有机构股东进入。
这也意味着,所谓“道趣芙琳小棕瓶”,实质是一款医用敷料产品,注册人是西安汇智医疗集团有限公司。而“道趣芙琳小棕瓶”是一个被包装的概念,上海道趣生物科技有限公司应是它的商业推广商。
据天眼查,上海道趣生物科技有限公司成立时间为2018年,法定代表人为陈慧贞,实控人为韩兴国。韩兴国持有该公司60%的股份。同时,韩兴国还在上海埃德斯生物科技有限公司、上海胶芙丽生物科技有限公司、莆田市和众人力资源服务有限公司有任职记录。
据“2021首届全球医美前沿产业大会 了不起的先行医美人”会议海报,韩兴国系道趣生物首席执行官,其同时还是上海市医疗健康协会副会长。
在这场会议中,韩兴国的发言涉及了医美产业的规范问题,其中还提及的产品注册的“困惑”。韩兴国表示,医美产业存在规范延迟的问题,其个人认为处在初级发展阶段,包括产品证件的合规性问题,“不是各个厂家不想申报,是没有这个类目,没有评价标准就无法申请和评估,这个是我们作为品牌方比较困惑的问题”,此外,行业的技术、服务、管理也都处于初级阶段。
不过,当日的会议发言中,韩兴国没有进一步对医美产品的注册评价问题提出自己的解决建议,而是介绍了医美商战的最新变化和公司产品,还提出了“道趣芙琳小棕瓶的2.0”。
5月9日,依据天眼查显示的联系方式,界面新闻联系了上海道趣生物科技有限公司,该公司接线人员表示,道趣芙琳小棕瓶的产品问题可尝试与该公众号联系,其“不在那、不知道、不清楚”。另一家名字类似的“上海道趣芙琳生物科技有限公司”则在电话中表示,联系方式有误,称“不是那家公司”。
截至发稿时,就“道趣芙琳小棕瓶”的相关问题,记者在道趣芙琳公众号中的留言问题未获得回复。同时,该公众号显示的联系人员也始终没有回复记者的微信提问。
但在同一时间,该人员的微信朋友圈高频地更新着“道趣芙琳恒白瓶”的推广动态。而据社交媒体发布的“道趣芙琳恒白瓶”图片,其和“小棕瓶”的图片显示为同一款产品。
在推广动态中,涉及道趣芙琳使用的机构数量不少,且遍及全国。例如,青岛王博士医疗美容、济南美释医疗美容、深圳名品医疗美容门诊部、河南洛阳孔繁荣医疗美容、金华亚美综合门诊、济南星澄艺医美整形、南宁美丽在造医疗美容门诊部扽等等。这也体现了目前道趣芙琳“逐个击破”的推广方式和“日进斗金”的强度。


在其推广文案中,也不乏“无痛美白淡斑”、“为机构赋能”、“机构高利润品 助力业绩销售”等说辞。而若是涉及利润问题,据新氧APP,当机构售卖的项目包含“水光项目”时,5ml道趣芙琳的价格可以达到3000-8000元。而前文已经提过,据国家药监局,道趣芙琳小棕瓶的主要成分是透明质酸钠和纯化水。
评论