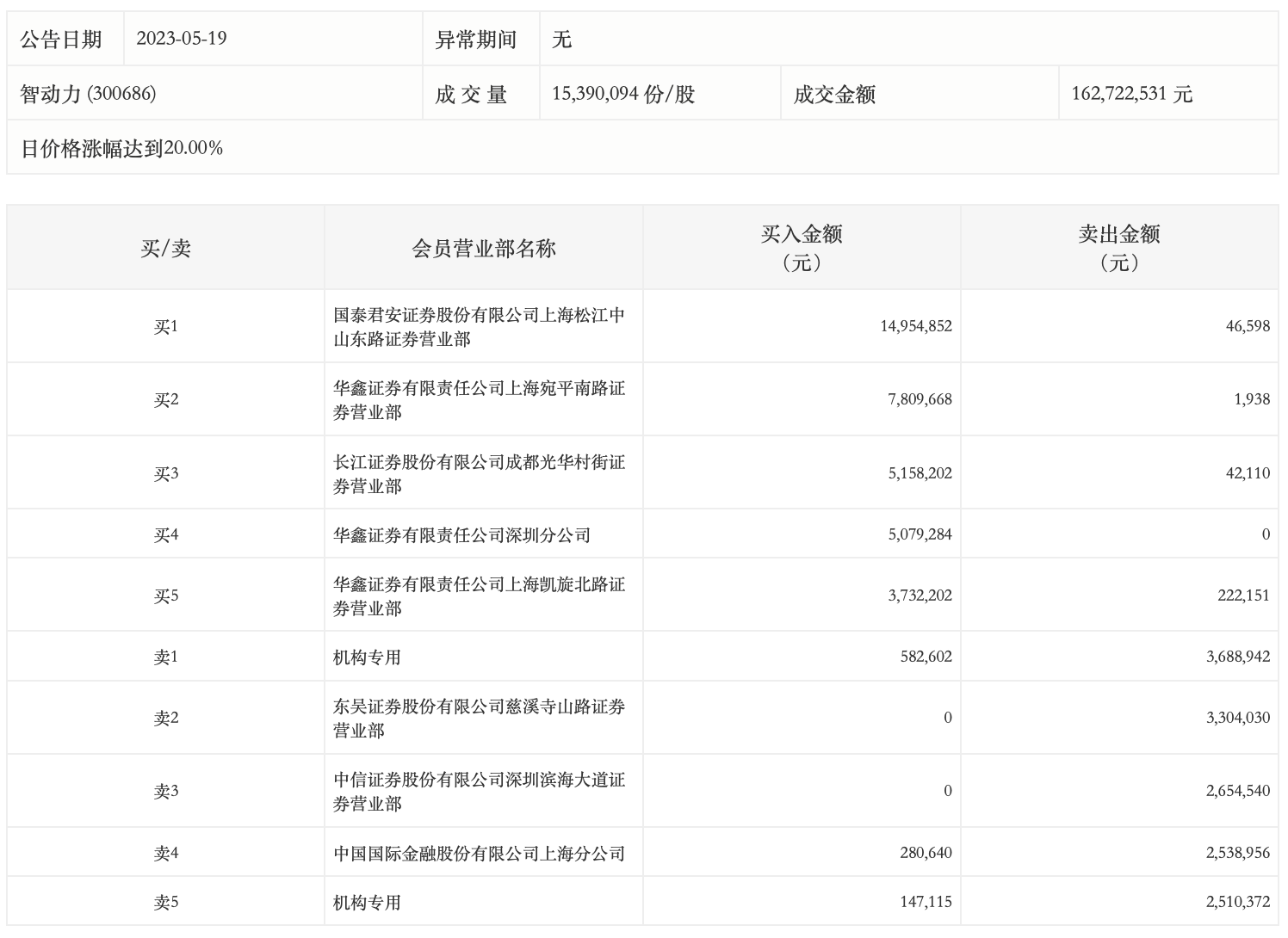
5月19日,智动力今日涨停,龙虎榜数据显示,上榜营业部席位全天成交5275.42万元,占当日总成交金额比例为32.42%。其中,买入金额为3774.46万元,卖出金额为1500.96万元,合计净买入2273.49万元。
具体来看,机构买入72.97万元,卖出619.93万元,合计净卖出546.96万元。此外,知名游资现身龙虎榜,国泰君安证券上海松江中山东路证券营业部、炒股养家(华鑫证券上海宛平南路证券营业部)分别买入1495.49万元、780.97万元;东吴证券慈溪寺山路证券营业部、中信证券深圳滨海大道证券营业部分别卖出330.40万元、265.45万元。

评论