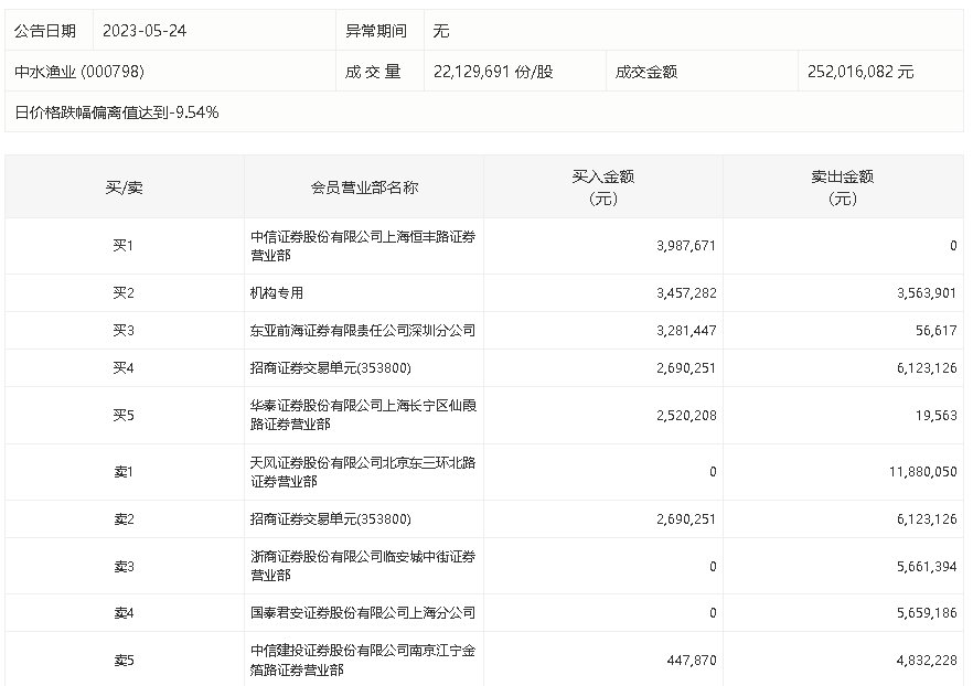
5月24日,中水渔业今日跌停,龙虎榜数据显示,上榜营业部席位全天成交5418.08万元,占当日总成交金额比例为21.5%。其中,买入金额为1638.47万元,卖出金额为3779.61万元,合计净卖出2141.13万元。
具体来看,机构买入345.73万元,卖出356.39万元,合计净卖出10.66万元。此外,天风证券北京东三环北路证券营业部、招商证券交易单元(353800)分别卖出1188.01万元、612.31万元;中信证券上海恒丰路证券营业部、东亚前海证券深圳分公司分别买入398.77万元、328.14万元。

评论