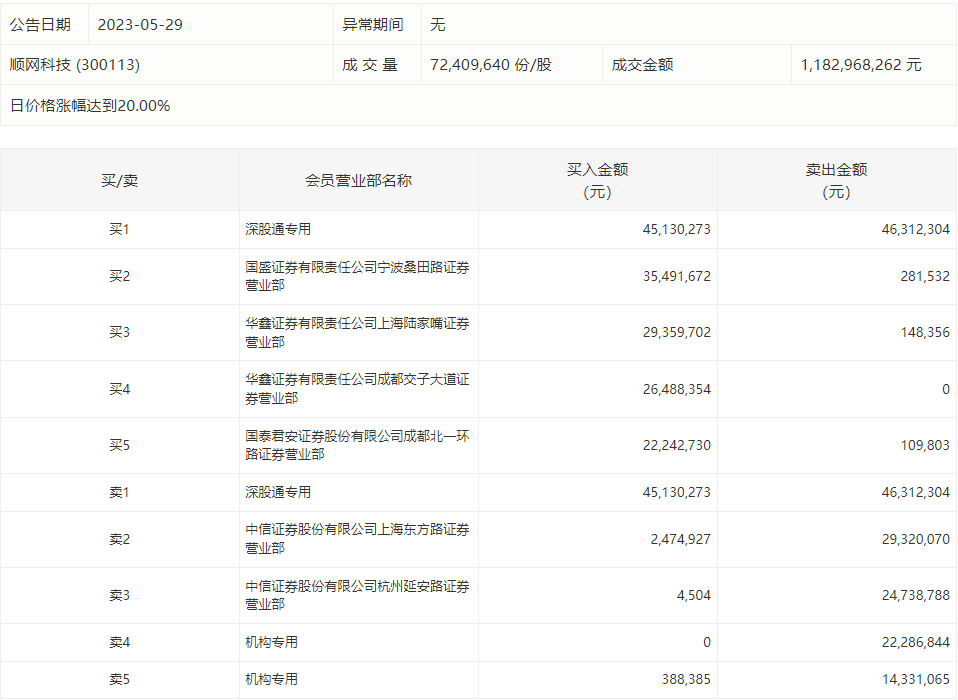
5月29日,顺网科技今日涨停,龙虎榜数据显示,上榜营业部席位全天成交2.99亿元,占当日总成交金额比例为25.28%。其中,买入金额为1.62亿元,卖出金额为1.38亿元,合计净买入2405.18万元。
具体来看,机构买入38.84万元,卖出3661.79万元,合计净卖出3622.95万元。此外,知名游资现身龙虎榜,深股通专用、宁波桑田路(国盛证券宁波桑田路证券营业部)分别买入4513.03万元、3549.17万元;深股通专用、中信证券上海东方路证券营业部分别卖出4631.23万元、2932.01万元。

评论