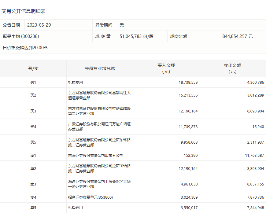
5月29日,冠昊生物今日涨停,龙虎榜数据显示,上榜营业部席位全天成交1.34亿元,占当日总成交金额比例为15.85%。其中,买入金额为7952.8万元,卖出金额为5441.06万元,合计净买入2511.74万元。
具体来看,机构买入2228.86万元,卖出1170.57万元,合计净买入1058.28万元。此外,东方财富证券昌都两江大道证券营业部、东方财富证券拉萨团结路第二证券营业部分别买入1521.36万元、1219.02万元;东海证券山东分公司、东方财富证券拉萨团结路第二证券营业部分别卖出1176.36万元、889.39万元。

评论