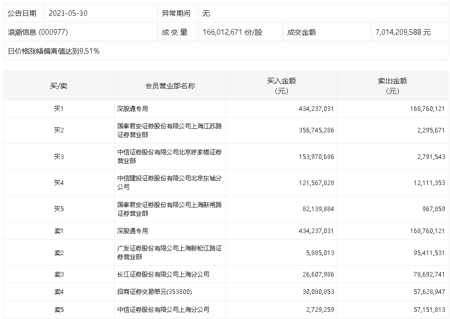
5月30日,浪潮信息今日涨停,龙虎榜数据显示,上榜营业部席位全天成交16.9亿元,占当日总成交金额比例为24.09%。其中,买入金额为12.14亿元,卖出金额为4.76亿元,合计净买入7.38亿元。
具体来看,知名游资现身龙虎榜,深股通专用、章盟主(国泰君安证券上海江苏路证券营业部)分别买入4.34亿元、3.57亿元;深股通专用、广发证券上海新松江路证券营业部分别卖出1.69亿元、9541.15万元。

来源:界面新闻
5月30日,浪潮信息今日涨停,龙虎榜数据显示,上榜营业部席位全天成交16.9亿元,占当日总成交金额比例为24.09%。其中,买入金额为12.14亿元,卖出金额为4.76亿元,合计净买入7.38亿元。
具体来看,知名游资现身龙虎榜,深股通专用、章盟主(国泰君安证券上海江苏路证券营业部)分别买入4.34亿元、3.57亿元;深股通专用、广发证券上海新松江路证券营业部分别卖出1.69亿元、9541.15万元。

评论