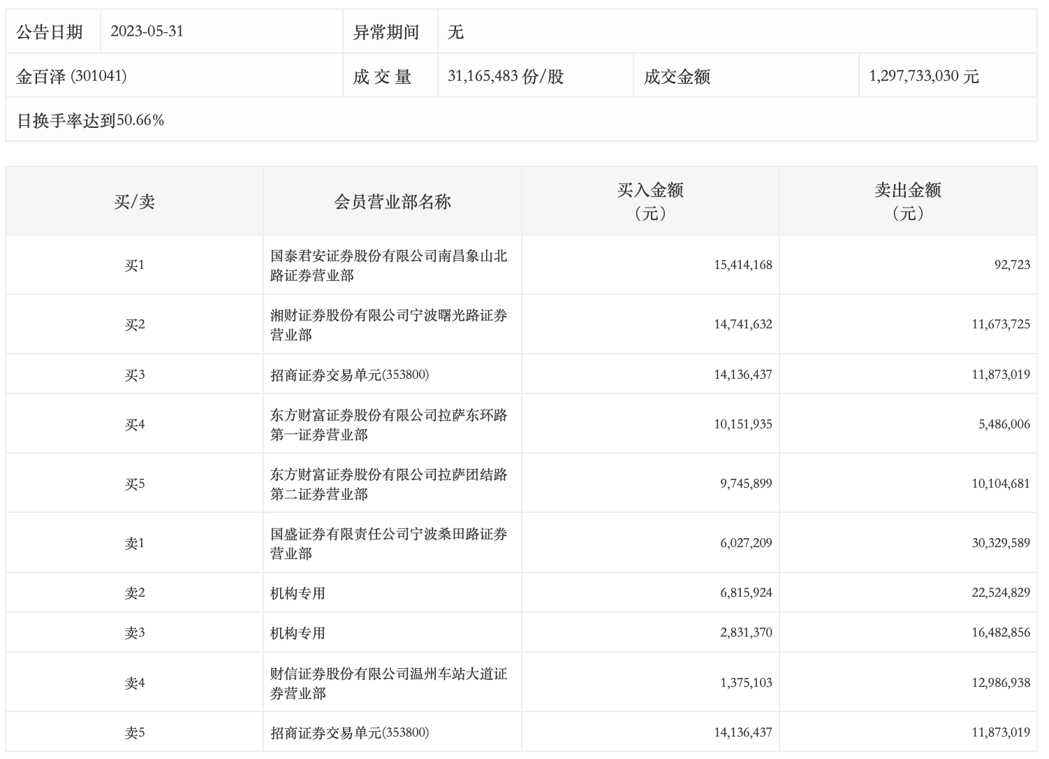
5月31日,金百泽今日跌14.45%,龙虎榜数据显示,上榜营业部席位全天成交2.03亿元,占当日总成交金额比例为15.63%。其中,买入金额为8123.97万元,卖出金额为1.22亿元,合计净卖出4031.47万元。
具体来看,机构买入964.73万元,卖出3900.77万元,合计净卖出2936.04万元。此外,知名游资现身龙虎榜,宁波桑田路(国盛证券宁波桑田路证券营业部)、财信证券温州车站大道证券营业部分别卖出3032.96万元、1298.69万元;国泰君安证券南昌象山北路证券营业部、湘财证券宁波曙光路证券营业部分别买入1541.42万元、1474.16万元。

评论