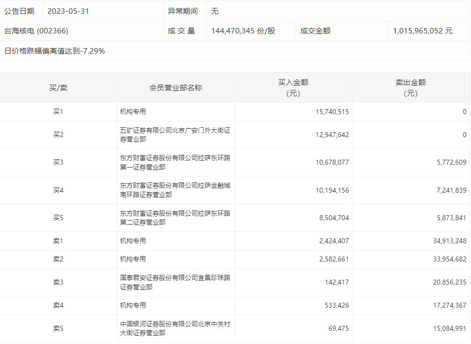
5月31日,台海核电今日跌7.72%,龙虎榜数据显示,上榜营业部席位全天成交2.05亿元,占当日总成交金额比例为20.16%。其中,买入金额为6381.75万元,卖出金额为1.41亿元,合计净卖出7715.43万元。
具体来看,机构买入2128.1万元,卖出8614.23万元,合计净卖出6486.13万元。此外,国泰君安证券宜昌珍珠路证券营业部、中国银河证券北京中关村大街证券营业部分别卖出2085.62万元、1508.50万元;五矿证券有限公司北京广安门外大街证券营业部、东方财富证券拉萨东环路第一证券营业部分别买入1294.76万元、1067.81万元。

评论