记者|赵阳戈
二三四五(002195.SZ)运筹多时的易主终于落地,新东家的成本在3.61元/股,目前现价为3.05元,在交易价之下。
新主
持续数月,二三四五股权变更落地。
2023年1月6日,上海岩合科技合伙企业(有限合伙)与二三四五持股5%以上股东韩猛及其一致行动人张淑霞签署转让协议,上海岩合科技合伙企业(有限合伙)受让韩猛及张淑霞通过协议转让方式转让的公司无限售条件流通股5.54亿股,占公司目前总股本57.25亿股的9.6758%,转让价款合计为人民币20亿元,折合3.61元/股。
2023年1月10日,上海岩合科技合伙企业(有限合伙)按照约定向转让方足额支付了股份转让款定金人民币4亿元整。后续的2023年2月23日,上海岩合科技合伙企业(有限合伙)再支付股份转让款首期款人民币6亿元整。自2023年2月23日起至交割日为止的期间,韩猛及其一致行动人张淑霞的全部股份的权利委托由上海岩合科技合伙企业(有限合伙)行使。2023年6月1日,上海岩合科技合伙企业(有限合伙)再支付剩余尾款10亿元整,如此一来,对价已付清,并且双方也在2023年6月1日完成了过户办理,上海岩合科技合伙企业(有限合伙)成为上市公司的控股股东,叶可及傅耀华成为上市公司的实际控制人。傅耀华与叶可系母子关系,互为一致行动人。

消息刺激下,一度二三四五走出连续3个涨停,股价从2元一线应声拔起,后经不断推高,于2023年3月27日上摸3.66元。不过近2个月以来股价有所回落,截至6月2日收盘时,股价3.05元,低于转让对价。
董事长的身份
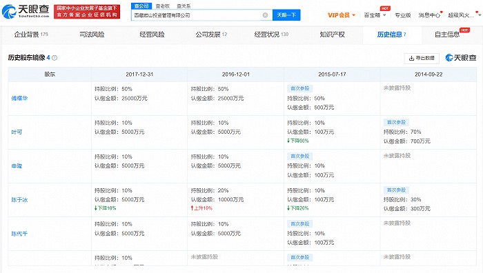
在这场转让的背后,二三四五董事长陈于冰的身份有些特别。
细看上海岩合科技合伙企业(有限合伙)的股权架构,陈于冰赫然在列,为上海岩合科技合伙企业(有限合伙)的有限合伙人,出资比例4.9975%。作为GP的上海道准科技有限公司,其为西藏岩山投资管理有限公司的全资孙公司,而陈于冰持有10%的西藏岩山投资管理有限公司股权。通过天眼查可知,上海岩合科技合伙企业(有限合伙)的有限合伙人陈于冰,正是现在二三四五的董事长,其目前持股8890万股。
资料显示,陈于冰,中国国籍,无境外永久居留权,1977年生,研究生学历,保荐代表人。分别于1999年、2002年毕业于上海复旦大学,获得经济学院学士及硕士学位。2002年8月至2014年7月,就职于国泰君安证券股份有限公司投资银行部、中小企业融资部,历任高级经理、董事、执行董事、董事总经理。2014年11月起,任二三四五投资总监。2014年12月1日起任二三四五董事,2015年2月11日起任上海二三四五网络控股集团股份有限公司董事、总经理。2016年5月18日起任二三四五董事长兼总经理。
而从天眼查可知,西藏岩山投资管理有限公司的成立时间为2014年9月22日,成立之初便是由叶可和陈于冰共同持股的。也就是说,西藏岩山投资管理有限公司在成立之后,陈于冰才以总监的身份进入二三四五,并且历经8年多时间,做到了如今董事长、总经理的位置。或许也正是陈于冰的“穿针引线”,才最终有了上述的交易。
针对转让,深交所也下发过关注函,上海岩合科技合伙企业(有限合伙)表示权益变动主要基于对上市公司价值的高度认同及发展前景的强烈看好。



评论