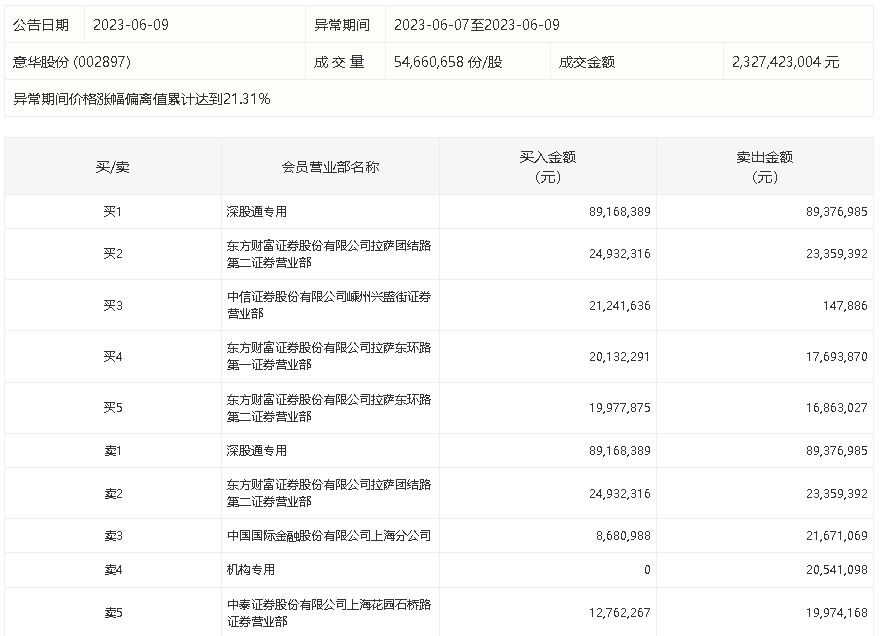
6月9日,意华股份今日涨停,龙虎榜数据显示,6月7日至6月9日期间,上榜营业部席位合计成交4.07亿元,其中买入金额为1.97亿元,卖出金额为2.1亿元,合计净卖出1273.17万元。
具体来看,机构合计净卖出2054.11万元。此外,深股通专用、东方财富证券拉萨团结路第二证券营业部分别买入8916.84万元、2493.23万元;深股通专用、东方财富证券拉萨团结路第二证券营业部分别卖出8937.70万元、2335.94万元。

来源:界面新闻
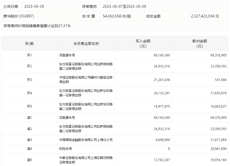
6月9日,意华股份今日涨停,龙虎榜数据显示,6月7日至6月9日期间,上榜营业部席位合计成交4.07亿元,其中买入金额为1.97亿元,卖出金额为2.1亿元,合计净卖出1273.17万元。
具体来看,机构合计净卖出2054.11万元。此外,深股通专用、东方财富证券拉萨团结路第二证券营业部分别买入8916.84万元、2493.23万元;深股通专用、东方财富证券拉萨团结路第二证券营业部分别卖出8937.70万元、2335.94万元。

评论