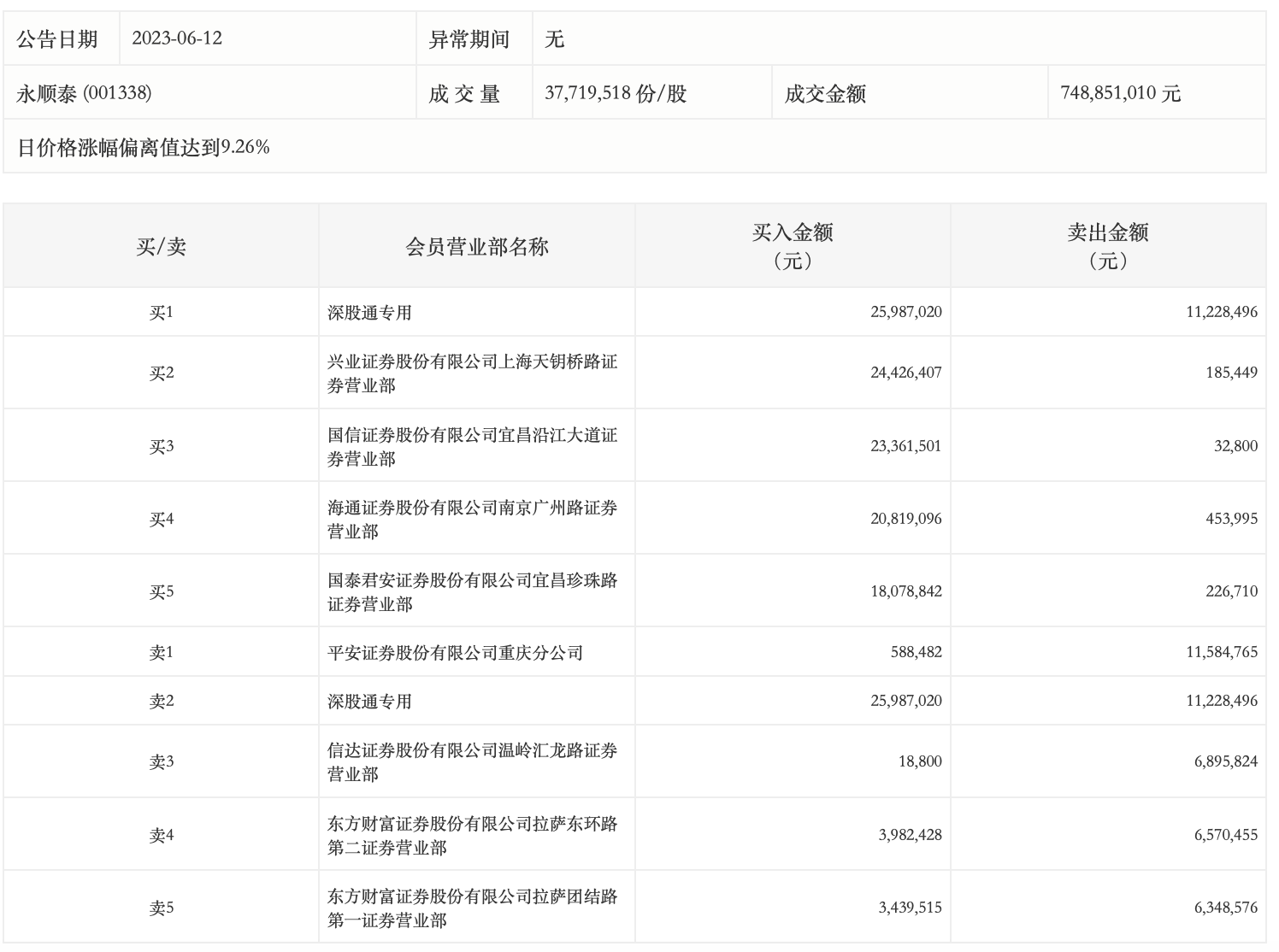
6月12日,永顺泰今日涨停,龙虎榜数据显示,上榜营业部席位全天成交1.64亿元,占当日总成交金额比例为21.93%。其中,买入金额为1.21亿元,卖出金额为4352.71万元,合计净买入7717.5万元。
具体来看,深股通专用、兴业证券上海天钥桥路证券营业部分别买入2598.70万元、2442.64万元;平安证券重庆分公司、深股通专用分别卖出1158.48万元、1122.85万元。

来源:界面新闻
6月12日,永顺泰今日涨停,龙虎榜数据显示,上榜营业部席位全天成交1.64亿元,占当日总成交金额比例为21.93%。其中,买入金额为1.21亿元,卖出金额为4352.71万元,合计净买入7717.5万元。
具体来看,深股通专用、兴业证券上海天钥桥路证券营业部分别买入2598.70万元、2442.64万元;平安证券重庆分公司、深股通专用分别卖出1158.48万元、1122.85万元。

评论