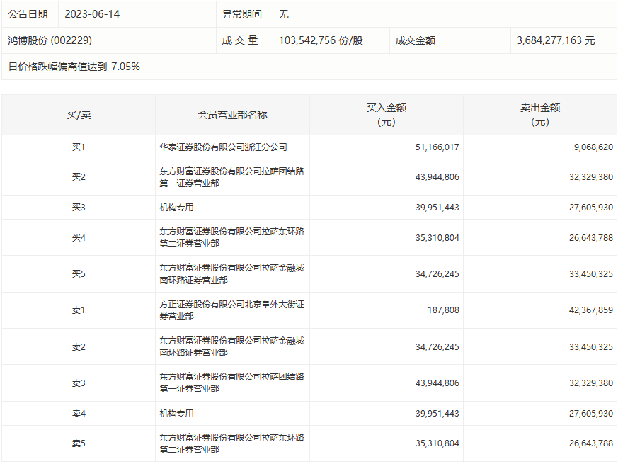
6月14日,鸿博股份今日跌6.8%,龙虎榜数据显示,上榜营业部席位全天成交3.77亿元,占当日总成交金额比例为10.23%。其中,买入金额为2.05亿元,卖出金额为1.71亿元,合计净买入3382.12万元。
具体来看,机构买入3995.14万元,卖出2760.59万元,合计净买入1234.55万元。此外,方正证券北京阜外大街证券营业部、东方财富证券拉萨金融城南环路证券营业部分别卖出4236.79万元、3345.03万元;华泰证券浙江分公司、东方财富证券拉萨团结路第一证券营业部分别买入5116.60万元、4394.48万元。

评论