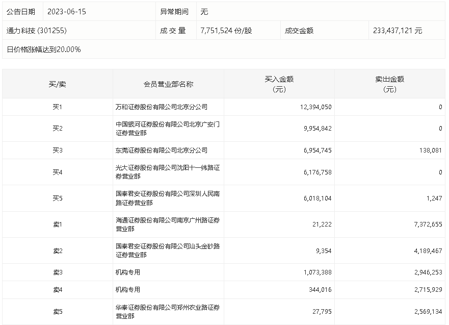
6月15日,通力科技今日涨停,龙虎榜数据显示,上榜营业部席位全天成交6290.7万元,占当日总成交金额比例为26.95%。其中,买入金额为4297.43万元,卖出金额为1993.28万元,合计净买入2304.15万元。
具体来看,机构买入141.74万元,卖出566.22万元,合计净卖出424.48万元。此外,知名游资现身龙虎榜,著名刺客(东莞证券股份有限公司北京分公司)净买入681.67万元。此外,万和证券北京分公司、中国银河证券北京广安门证券营业部分别买入1239.41万元、995.48万元;海通证券南京广州路证券营业部、国泰君安证券汕头金砂路证券营业部分别卖出737.27万元、418.95万元。

评论