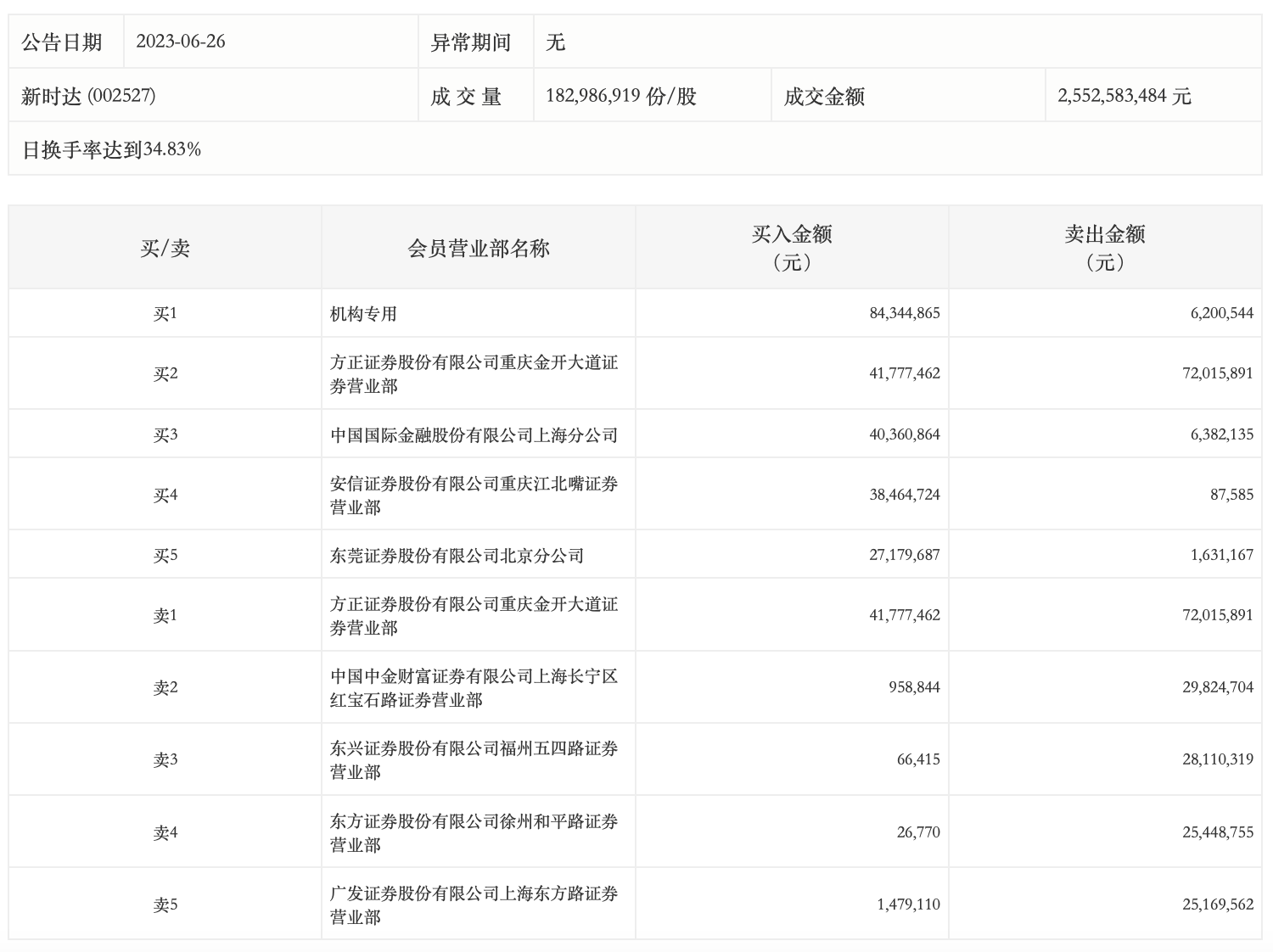
6月26日,新时达今日涨6.86%,龙虎榜数据显示,上榜营业部席位全天成交4.3亿元,占当日总成交金额比例为16.83%。其中,买入金额为2.35亿元,卖出金额为1.95亿元,合计净买入3978.81万元。
具体来看,机构买入8434.49万元,卖出620.05万元,合计净买入7814.43万元。此外,知名游资现身龙虎榜,著名刺客(东莞证券股份有限公司北京分公司)净买入2554.85万元。此外,方正证券重庆金开大道证券营业部、中国国际金融上海分公司分别买入4177.75万元、4036.09万元;方正证券重庆金开大道证券营业部、中国中金财富证券有限公司上海长宁区红宝石路证券营业部分别卖出7201.59万元、2982.47万元。

评论