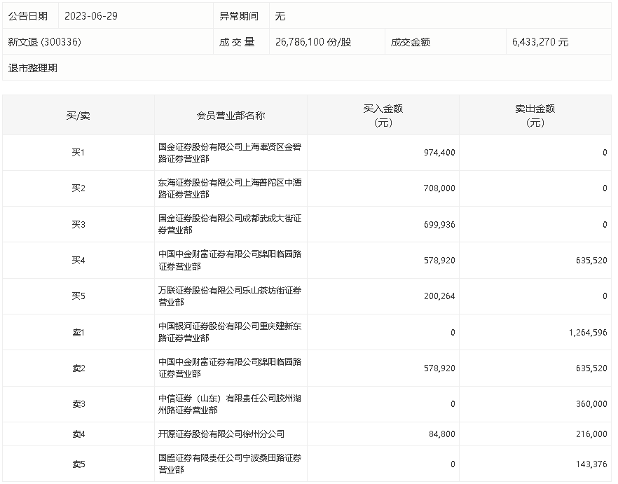
6月29日,新文退今日跌4%,龙虎榜数据显示,上榜营业部席位全天成交586.58万元,占当日总成交金额比例为91.23%。其中,买入金额为324.63万元,卖出金额为261.95万元,合计净买入62.68万元。
具体来看,知名游资现身龙虎榜,宁波桑田路(国盛证券有限责任公司宁波桑田路证券营业部)净卖出14.34万元。此外,中国银河证券重庆建新东路证券营业部、中国中金财富证券有限公司绵阳临园路证券营业部分别卖出126.46万元、63.55万元;国金证券上海奉贤区金碧路证券营业部、东海证券上海普陀区中潭路证券营业部分别买入97.44万元、70.80万元。

评论