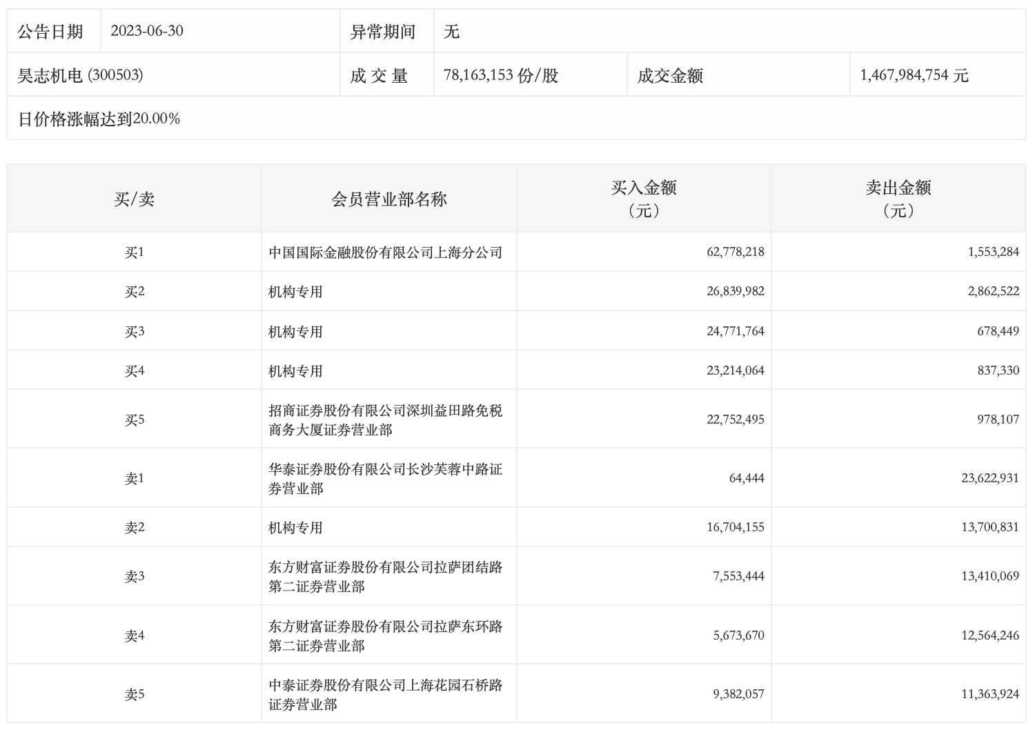
6月30日,昊志机电今日涨停,龙虎榜数据显示,上榜营业部席位全天成交2.81亿元,占当日总成交金额比例为19.16%。其中,买入金额为2.0亿元,卖出金额为8157.17万元,合计净买入1.18亿元。
具体来看,机构买入9153.0万元,卖出1807.91万元,合计净买入7345.08万元。此外,中国国际金融上海分公司、招商证券深圳益田路免税商务大厦证券营业部分别买入6277.82万元、2275.25万元;华泰证券长沙芙蓉中路证券营业部、东方财富证券拉萨团结路第二证券营业部分别卖出2362.29万元、1341.01万元。

评论