文|网经社 吴夏雪
一、QQ“关店”
据报道,目前打开手机QQ端的“QQ小店”小程序,会跳出一则官方通知,通知称:由于业务调整,自2023年7月15日起,QQ小店小程序将停止运营,群带货机器人功能将下线,QQ小店注册及小店带货/自购等相关服务将关闭,7月15日前带货产生的相关收益仍会如期进行结算下发。

值得注意的是,目前该小程序已经关闭了新用户注册入口。打开“QQ小店”小程序,映入眼帘的是3张介绍图片,无法进行下一步操作。然而,在之前的“QQ小店”操作指引图中,会有“我要加入”按钮。

此消息一出,不少网友表示:“腾讯没有电商基因”、“其电商业务在海量资源多年反复尝试下,始终做不起来”......难道说,腾讯真的做不起来电商?
二、“难兄难弟”接连关停

据悉,“QQ小店”是QQ官方推出的电商带货返佣产品,号称“零成本开店、享百万优质货源、轻松带货赚取佣金福利”。用户通过设置、选品后,可以在QQ群、QQ看点、QQ空间等场景推送商品,当商品被分享对象购买后,用户便可通过有效订单赚到佣金。
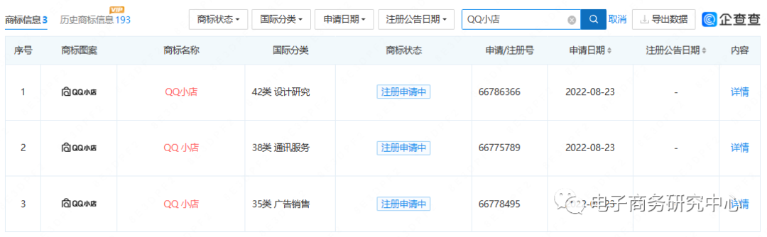
就在去年8月,腾讯科技(深圳)有限公司还申请注册了多个“QQ小店”商标,涉及设计研究、通讯服务、广告销售等多个国际分类。然而,该商标的申请进度还停留在“注册申请中”。

(网经社注:图片采集自企查查)
无独有偶,5月31日,腾讯旗下的团购工具“鹅享团”小程序停止服务,相关团队也已进行调整。该产品面向的是小微商户,针对微信私域交易场景,提高交易效率和私域运营的服务工具。整体体验类似于拼多多的快团团,由团长搭建卖场,然后进行商品的售卖。然而,上线仅一年多,该小程序便已停止服务。

接连两款电商产品宣告失败,难道说腾讯真的没有“电商基因”?
三、腾讯“屡败屡战”
在这样一个“万物皆可带货”的时代,腾讯也早就将手伸向电商业务,不过一路走来,可谓是“屡战屡败”、“屡败屡战”。2005年,腾讯推出拍拍网,对标淘宝和易趣,构成C2C平台“三足鼎立”状态。之后,腾讯推出QQ网购,收购易迅网。不过这些业务的发展不温不火,直至2013年,腾讯的电商业务全年GMV才破百亿。
2012年,腾讯试图以投资的方式来补足电商版图,入股了当时行业第二的京东。2014年3月10日,腾讯宣布与京东建立战略合作伙伴关系;后来,腾讯一直积极地与其他电商平台进行合作,又入股了拼多多;私域浪潮兴起后,基于微信生态,又入股了有赞与微盟等第三方服务商。

据网经社旗下电商大数据库“电数宝”(DATA.100EC.CN)监测数据显示,2010年至今,FLIPOS科技、小红书、谊品生鲜、宠物家Pet'em、科脉、兴盛优选、酒小二、多点mall、每日优鲜、成物、魔筷科技、快手、食享会、转转、汽车街、超级导购、同程生活、便利蜂、途虎养车、多抓鱼、人人车、拼多多、车好多集团、超级物种、快准车服、锦尚志、微拍堂、奢分期、易车、小红书、拼好货、回收宝、天天拍车、万达电商飞凡网、京东、楚楚街、美丽说、优信拍、妈妈网、珂兰钻石网、好乐买、买卖宝等零售电商平台均获得过腾讯的投资。
其中,2018年5月28日,腾讯通过QQ推出自有电商平台“鹅漫U品”。这是一个以QQ年轻用户为核心,打造腾讯在泛二次元文化领域的核心衍生品生态平台,拥有独立的App和小程序。但最终也于2019年9月25日草草下线,并入了QQ公众号“看点买买”,成为了一个购物功能。
近几年,腾讯立足于社交,陆续推出“QQ小店”、“小鹅拼拼”、“鹅享团”、“腾讯荟聚”、“云逛全球”等电商业务。其中,除“QQ小店”和“鹅享团”停止服务外,“小鹅拼拼”也早在2022年2月就被爆关停,作为腾讯PCG事业群的核心创新项目之一,小鹅拼拼的关停宣告了腾讯在探索电商业务上折戟。

网经社电子商务研究中心特约研究员、鲍姆企业管理咨询有限公司董事长鲍跃忠曾认为,腾讯本身是做平台的,他做平台的优势想转化成做零售的优势,这中间还有很长的距离要走,他所具备的是有平台的流量,但是他非常缺乏的是搭建供应链的能力,如果没有供应链能力的支撑,任何的零售模式,包括像平常模式都是做不成的。
四、视频号成新出路?
不过,腾讯旗下“腾讯荟聚”似乎在调转方向。今年2月1日,“腾讯荟聚”进行平台升级,更名“品牌发现”。升级后的“品牌发现”是基于微信生态的品牌小程序发现与推荐平台,旨在为商家提供公私域联动的土壤,助力商家在微信生态内实现生意增长;同时帮助品牌更好地链接产业互联网,助力品牌数字化建设。

此外,在直播电商日益火热的当下,腾讯重点发力的电商业务是视频号。2022年,视频号直播带货销售额同比增长超8倍,今年预计电商GMV达到3000亿,明年将破10000亿。此外,腾讯一季报显示,视频号直播带货交易相关的技术服务首次创收,助力企业服务业务的收入增长。
近期,视频号上线先用后付功能、开放虚拟号码、测试直播切片授权相关功能,可谓是动作频频,尽显腾讯对其的重视。
话说回来,腾讯旗下平台众多,蕴含着一个又一个流量池,再加上微信自身的强大交易生态系统,发展电商业务应该不是难事。不过,如何将其做得长久,确实也是腾讯需要好好思考的问题。



评论