首页
科技
金融
证券
地产
汽车
健康
地方
硬科技
文旅
数据
ESG
双碳
电厂
商业
科技
地产
汽车
消费
工业
时尚
交通
医药
互联网
创投
能源
数码
教育
食品
新能源
家电
健康
酒业
物流
零售
美妆
体育
楼市
家居
餐饮
日用
企服
珠宝
腕表
智库
电厂
农业
出海
财经
金融
投资
证券
IPO
宏观
股市
财富
有连云
新闻
天下
中国
地方
评论
数据
职场
国是
文娱
影像
营销
大湾区
ESG
双碳
长三角
中西部
文化生活
文化
文旅
生活方式
美食美酒
艺术
游戏
正午
箭厂
VIP
投资早晚报
宏观晚6点
打新早报
盘前机会前瞻
盘中必读
金股挖掘
调研早知道
研报新知
快报
今日热点
公司头条
股市前沿
监管通报
财经速览
时事追踪
界面号
财经号
城市号
媒体号
视频
界面Vnews
直播
箭厂
品牌创酷
番茄社
商业微史记
胡说财经
专题
新闻专题
活动专题
Global
登录
消息
我的面点
我的关注
我的文章
投稿
报料
账号设置
退出账号
旧版搜索
新版搜索
旧版搜索
历史搜索
全部删除
热门搜索
股市快讯
贵州茅台
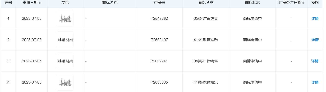
贵州茅台酒厂申请注册“喜相逢”商标
界面快报
·
来源:界面新闻
天眼查显示,中国贵州茅台酒厂(集团)有限责任公司近日新增“喜相逢”和“向美而行 共赴山河”商标申请,国际分类均为教育娱乐和广告销售,当前商标状态为申请中。
未经正式授权严禁转载本文,侵权必究。
贵州茅台
5.1k
山姆刺破年份酒泡沫
8小时前
“i茅台”将于2月8日-9日维护升级,部分功能或出现短暂异常
1天前
点赞
收藏
看评论
分享至
微博分享
微信分享
QQzone
评论
暂无评论哦,快来评价一下吧!
热门排行
February 09
AI之争又打成了奶茶大战
聚焦液态食品散装运输系列文件,市监总局详解“能运什么” “用什么运”
直通部委|公安部严打涉网食品安全犯罪 全国开展危化品等非法生产窝点清查整治
【出海日报】一汽解放与菜鸟达成战略合作,构建汽车及零部件全球跨境电商平台
1500名缅甸妙瓦底赌诈嫌犯被押解回国,KK园区建筑物已全部拆除
与企业共同出海 讲中国发展故事,界面财联社发布全链路中企出海服务矩阵
2025年广州各区GDP:海珠增速领跑,番禺、增城工业负增长
如何推动消费税改革?高市早苗继续执政面临新困境
海南多家“老爸茶”超限量使用“科技与狠活”,检察公益诉讼化解食品安全隐患
最高检:社区团购不是法外之地,检察机关不能“视而不见”
评论