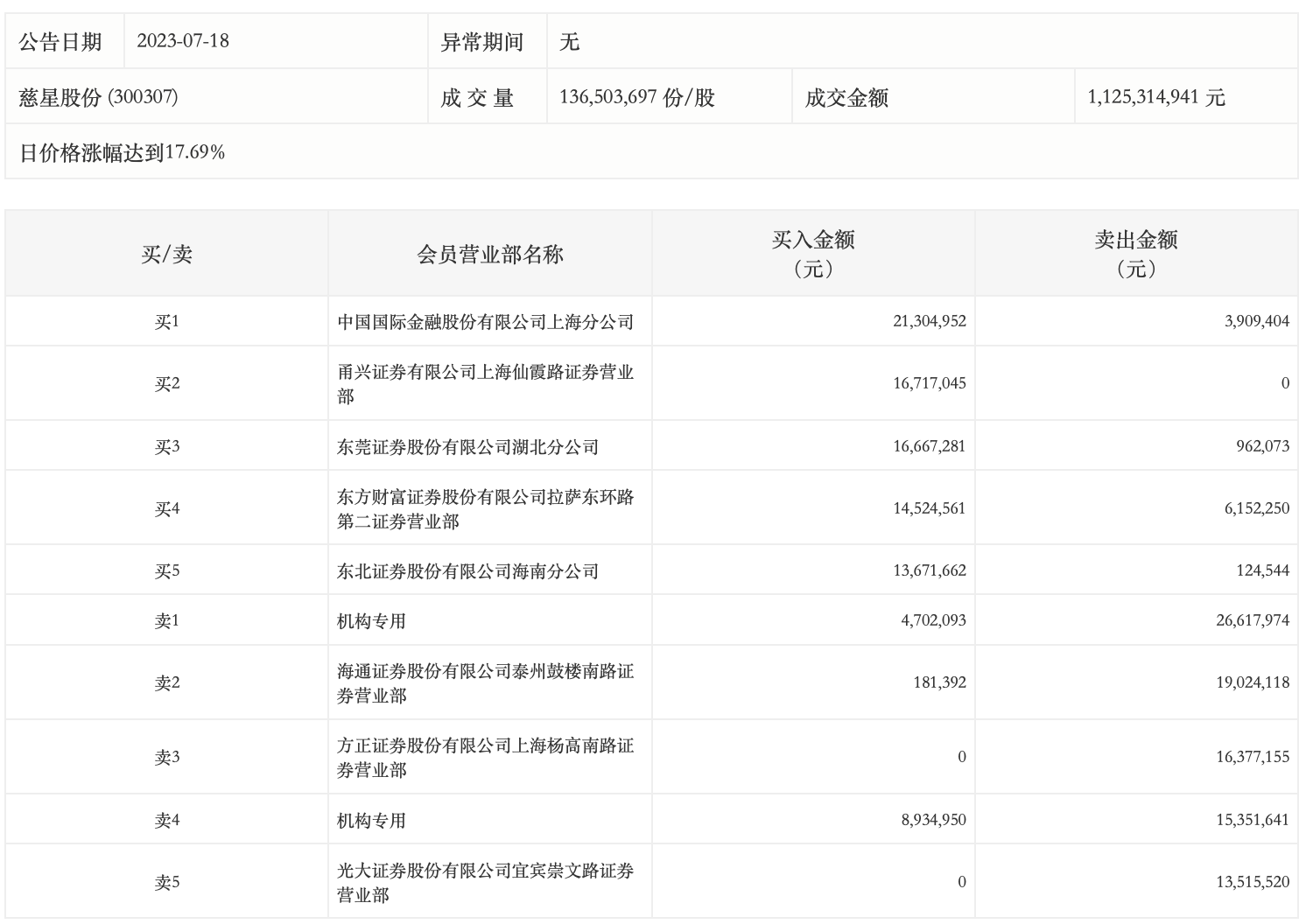
7月18日,慈星股份今日涨17.69%,龙虎榜数据显示,上榜营业部席位全天成交1.99亿元,占当日总成交金额比例为17.66%。其中,买入金额为9670.39万元,卖出金额为1.02亿元,合计净卖出533.07万元。
具体来看,机构买入1363.7万元,卖出4196.96万元,合计净卖出2833.26万元。此外,中国国际金融上海分公司、甬兴证券有限公司上海仙霞路证券营业部分别买入2130.50万元、1671.70万元;海通证券泰州鼓楼南路证券营业部、方正证券上海杨高南路证券营业部分别卖出1902.41万元、1637.72万元。

评论