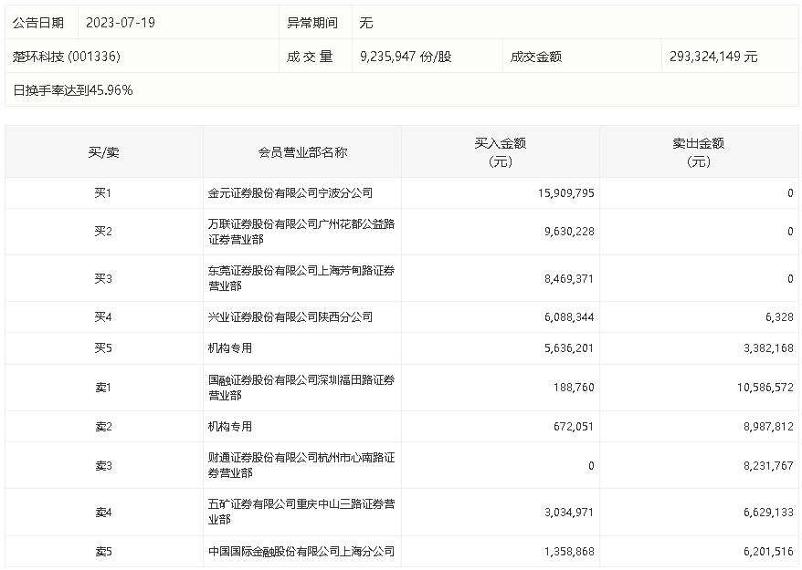
7月19日,楚环科技今日涨6.75%,龙虎榜数据显示,上榜营业部席位全天成交9501.39万元,占当日总成交金额比例为32.39%。其中,买入金额为5098.86万元,卖出金额为4402.53万元,合计净买入696.33万元。
具体来看,机构买入630.83万元,卖出1237.0万元,合计净卖出606.17万元。此外,知名游资现身龙虎榜,方新侠(兴业证券股份有限公司陕西分公司)净买入608.20万元。此外,金元证券宁波分公司、万联证券广州花都公益路证券营业部分别买入1590.98万元、963.02万元;国融证券深圳福田路证券营业部、财通证券杭州市心南路证券营业部分别卖出1058.66万元、823.18万元。

评论