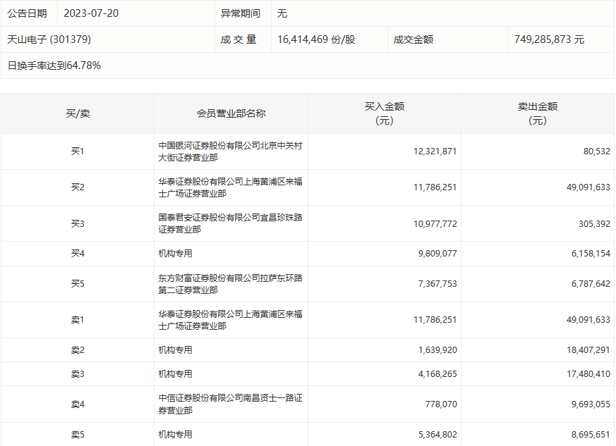
7月20日,天山电子今日跌1.5%,龙虎榜数据显示,上榜营业部席位全天成交1.81亿元,占当日总成交金额比例为24.14%。其中,买入金额为6421.38万元,卖出金额为1.17亿元,合计净卖出5248.6万元。
具体来看,机构买入2098.21万元,卖出5074.15万元,合计净卖出2975.94万元。此外,华泰证券上海黄浦区来福士广场证券营业部、中信证券南昌贤士一路证券营业部分别卖出4909.16万元、969.31万元;中国银河证券北京中关村大街证券营业部、华泰证券上海黄浦区来福士广场证券营业部分别买入1232.19万元、1178.63万元。

评论