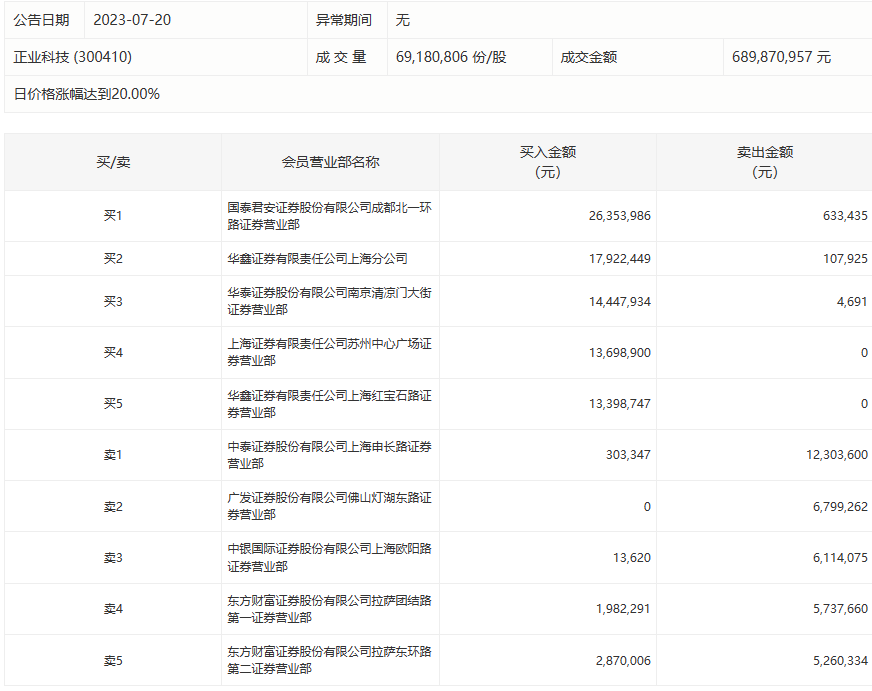
7月20日,正业科技今日涨停,龙虎榜数据显示,上榜营业部席位全天成交1.28亿元,占当日总成交金额比例为18.55%。其中,买入金额为9099.13万元,卖出金额为3696.1万元,合计净买入5403.03万元。
具体来看,知名游资现身龙虎榜,炒股养家(华鑫证券有限责任公司上海红宝石路证券营业部)净买入1339.87万元。此外,国泰君安证券成都北一环路证券营业部、华鑫证券上海分公司分别买入2635.40万元、1792.24万元;中泰证券上海申长路证券营业部、广发证券佛山灯湖东路证券营业部分别卖出1230.36万元、679.93万元。

评论