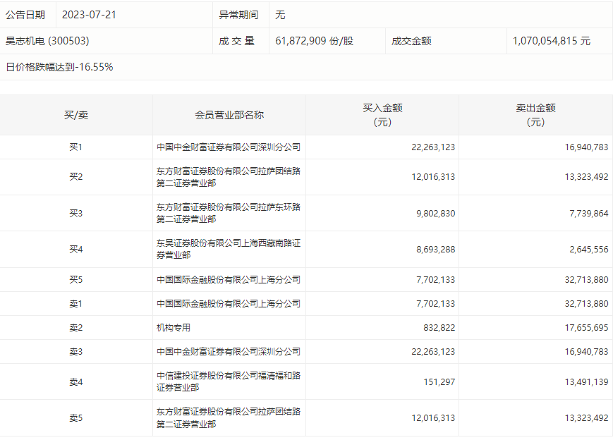
7月21日,昊志机电今日跌16.55%,龙虎榜数据显示,上榜营业部席位全天成交1.66亿元,占当日总成交金额比例为15.51%。其中,买入金额为6146.18万元,卖出金额为1.05亿元,合计净卖出4304.86万元。
具体来看,机构买入83.28万元,卖出1765.57万元,合计净卖出1682.29万元。此外,中国国际金融上海分公司、中国中金财富证券有限公司深圳分公司分别卖出3271.39万元、1694.08万元;中国中金财富证券有限公司深圳分公司、东方财富证券拉萨团结路第二证券营业部分别买入2226.31万元、1201.63万元。

评论