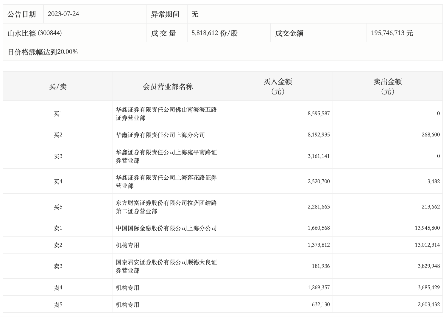
7月24日,山水比德今日涨停,龙虎榜数据显示,上榜营业部席位全天成交6743.25万元,占当日总成交金额比例为34.45%。其中,买入金额为2986.98万元,卖出金额为3756.27万元,合计净卖出769.28万元。
具体来看,机构买入327.53万元,卖出1930.12万元,合计净卖出1602.59万元。此外,知名游资现身龙虎榜,炒股养家(华鑫证券有限责任公司上海宛平南路证券营业部)净买入316.11万元。此外,华鑫证券佛山南海海五路证券营业部、华鑫证券上海分公司分别买入859.56万元、819.29万元;中国国际金融上海分公司、国泰君安证券顺德大良证券营业部分别卖出1394.58万元、382.99万元。

评论