文|零售商业财经 正敏
编辑|鹤翔
近日,临期折扣零售店「好特卖」被曝出“售假被举报”事件。
据澎湃新闻消息,这起涉嫌销售假冒注册商标的商品案,涉案金额达1700余万元,查获假冒知名品牌洗发水、沐浴露、防晒霜15万余瓶。

图源:上海浦东警方、好特卖
好特卖对此回应称:“事件为公司联合品牌方、警方共同打假。”
针对是否存在采购环节有漏洞、对供货方的资质审查有欠缺,以及流向市场的假冒伪劣产品该如何处置等消费者关切问题,好特卖只字未提,反而以避重就轻的手法引导大众将其“被声讨方”的负面角色,转向为积极打假的良心企业,以掩盖企业管理方面出现的重大风险。
01 下水道还是售假窝点?
笔者梳理了这起涉嫌销售假冒注册商标的商品案后发现,从生产到售卖大致分为三步:
首先,犯罪嫌疑人唐某按照订单需求采购假冒品牌洗发水、沐浴露及防晒霜的空瓶、贴标、膏体等原材料;随后,犯罪嫌疑人秦某某将原材料外包给工厂制成成品,唐某收到制成品后再找人伪造品牌方的授权、资质等证明;最后,犯罪嫌疑人张某负责这批成品的销售工作,以低价正品、厂家直销等为诱饵将假冒产品分销给各大超市门店。
涉事的好特卖门店,正是这批假冒产品销往的渠道之一,主要有洗发水、沐浴露、防晒霜等洗护、日用产品,涉及的洗护品牌包括原资生堂旗下的可悠然、丝蓓绮、fino芬浓等。
事实上,假冒的洗护日用产品有着较强的隐蔽性,消费者很难一眼辨认出真假,比起食用假冒的食品饮料类产品,洗护日用品的危害见效时间更长。抓住了这一产品特性,部分不法分子便干起了牟取非法利益、损害消费者权益的勾当。
以好特卖为代表的临期折扣店,以价格和性价比优势形成了较强的聚客能力。但消费者基于“便宜没好货”的心理,在低价面前,大多对商品的质量要求不高,因此这类渠道很容易被假冒伪劣产品利用。

图源:小红书
无独有偶,此前美妆集合店品牌「HAYDON黑洞」、「HARMAY话梅」也被曝出销售假冒的大牌化妆品小样。
一位好特卖的门店负责人表示,“关于正品保障方面,如果前来采购商品的顾客有相关需要,店员会在一个app上查到产品的溯源信息、合格标志,包括一些供应商盖章的相关文件,出示给顾客,一般顾客看到后就会打消疑虑。”
但在此次案件中,犯罪嫌疑人能够通过特殊渠道制作假冒的资质证书,其所言的“溯源信息”可信度也就大大下降了。
此外,查询信息的行为是由门店店员代为完成,消费者不能自己查验。这也意味着,即便出现问题,消费者也很难第一时间维权,毕竟核查及解释权均在企业方。
「零售商业财经」认为,相较于“打假”动作的声明,好特卖更应该回应市场和消费者关切。
尽管好特卖表示,有问题的产品已经进行了下架、销毁处理,但已经有一部分产品流入了市场,无论是召回还是对消费者进行赔偿,好特卖都应该直面问题、承认问题,重视消费者感受并求得谅解,最好还能将处理结果进行公示,而不仅仅是辟谣。毕竟,行动比话语更有说服力。
02 成败皆于“临期供给”
以售卖临期食品起家的好特卖,产品结构分为三类:一是知名大品牌的临期商品;二是大品牌下的冷僻商品;三是非临期的二三线品牌商品。
一方面,知名大牌的临期商品出货价普遍较低,能够以此引流;另一方面,冷僻不知名的白牌、杂牌商品没有过高的品牌溢价,能够以此盈利。
值得注意的是,好特卖近来的经营状况似乎大不如前。
今年8月,有媒体记者走访了好特卖位于北京的线下门店,发现以往的低价大牌引流产品(元气森林、依云矿泉水等)正在从一些门店的货架上消失。而上海的部分门店,甚至开始用低价的小包装水果引流,但这类生鲜产品的数量也并不多,大约20个左右。
之所以出现这样的现象,笔者认为原因有以下两点:
其一,在外部环境转好之后,各大品牌在过去三年里积压的存货、尾货已经清理得差不多了,好特卖的主要货源供给减少;并且为了增强抵御外部环境变化的风险,各大品牌对库存的管理更趋精细化,尽量减少损失。
其二,竞争加剧,赛道玩家增多。除了如嗨特购这类连锁经营品牌外,近年来也涌现了一批厂家直销、非连锁经营折扣渠道,以及在电商平台上直播售卖临期折扣食品的专营店。
不仅如此,出于去库存的目的,一些连锁超市也开始“试水”折扣店。随着折扣店企业的自由连锁发展,进口临期商品的货源已经不是很充足。

图源:抖音
“当前折扣店以食品和杂货为切入点,进入了一个兴盛时期,包括像大型零售商超也有进入到折扣店这一领域,大的零售企业本身在商品的供应链方面就具有自身优势,这对于现有的折扣店企业还是会有比较大的影响和冲击。”资深连锁产业专家、和弘连锁咨询董事长文志宏表示。
在好特卖创始人张宁看来,尾货规模已经达到千亿,只要经济不停滞,创新就不会停滞,尾单生意就会一直存在。做临期尾货生意,在整个大生态里就像一个分解者,“生态的分解者总要存在”。
「零售商业财经」认为,仰人鼻息的生意想要持续发展难度较大。低价大牌临期产品是“好特卖们”的经营命门,门店的经营状况与市场上流通的尾货、存货数量息息相关,需要品牌有很强的供应链能力以及渠道关系。并且,随着入局者增加,僧多粥少,品牌经营状况将面临进一步考验。
武汉某好特卖负责人介绍,门店每日从城市的总仓收货,根据供应商发货的内容,每日都要更新货品。“这个频率是非常高的,每天供的货都不一样,因为有的品今天有,明天可能就没有了。”
由此可以看出,好特卖的供货商流动性较强、范围较广、货源供应并不稳定,或许这也是造成此次售假事件的原因之一。
说白了,好特卖成败皆于“临期供给”。
为了解决以上困境,好特卖试图探索新的模式,包括承接品牌的“产能剩余”,调整临期比例以及发展自有品牌等。
例如乐事会用剩余的土豆来生产与好特卖联名的薯片、佳宝山楂条等,这些产品再以低价进入好特卖,对外宣称是好特卖与知名品牌的联名款。此外,好特卖还孵化了自有品牌“侠趣”,用以推广那些没有联名的产品。
不难发现,即便是大品牌的“产能剩余”,也多是一些食品边角料,在产品品质上比不过常规流通渠道中的商品,消费者本质上还是以低价买低质产品。曾经在年轻人当中风靡过一段时间的“边角料食品”,最终还是因各种品质、安全以及价格倒挂等问题渐渐熄火。
“进口好物,省钱就像呼吸一样。”这是好特卖的宣传标语,然而经历售假风波后,消费者再入店购买商品,或许要花费更多的精力去辨其真伪。显然,省钱已经无法像呼吸一样简单、自然了,甚至有可能“吸入有毒有害气体”。
综合以上分析,好特卖在拿货能力变差的同时,并未探索出有效的转型方向,再加上“售假风波”的冲击,品牌的可持续发展能力堪忧。
03 渠道失信,“伪低价”坑了谁?
今年4月,好特卖高调开放加盟。作为国内目前最大的折扣店品牌,目前好特卖全国门店数量已超500家,预计下半年每个月新增门店50家左右,年内进入100个城市。
公开资料显示,好特卖的加盟门槛并不低。在加盟商的资格审核上,加盟者必须是经营过5家以上连锁店的“老手”,或者自身有丰富的商圈资源的从业者,以保证加盟后能在客流获取、盈亏期阶段更顺利。
然而,与好特卖高昂斗志搞加盟形成鲜明对比的是市场冷淡的回应。
去年,折扣店品牌繁荣集市母公司——上海嘣嘣喵科技有限公司,在与供应商的一场合同纠纷诉讼中表示,因业务已停顿,没有现金流,准备申请破产。随后,其创始人范智峯于2022年年初就把所有的店铺打包转让给了好特卖,自己只专注供应链环节的生意。
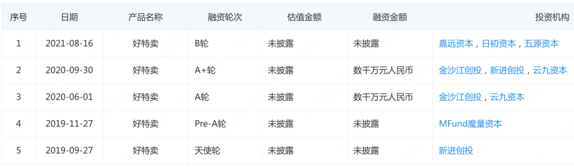
2022年期间,整个临期食品行业的投融资数量减退至不及前年的一半,资本对临期食品折扣行业的喜爱明显大打折扣。好特卖也从2021年8月后再未获得过新融资。

图源:企查查
临期商品之所以被消费者青睐,是因为能以较低的价格买到较好品质的产品,但如果低价对应的是低质量,就不再具备吸引力。
在商品安全质量方面,好特卖频频翻车,包括且不限于食品中含有异物、变质,售卖虚假商品等。

图源:黑猫投诉平台
结合本次售假事件,好特卖在产品质量把控上仍存在诸多漏洞。比产品质量更严重的是,好特卖在多处经营行为上存在违规行为。
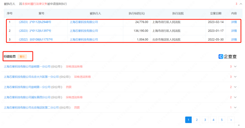
企查查显示,好特卖主体公司上海芯果科技有限公司仅行政处罚一项就高达28条,此外还有3次被强制执行。

图源:企查查
其中,行政处罚的缘由包括售卖过期产品、缺少标签的产品、质量不达标不合规的产品等。产品乱象如此之多,不仅影响消费体验,也会消耗消费者的信任,最终砸了自己的生意,还破坏了市场环境。

图源:企查查
对于加盟商来说,公司在供应链环节把关不严、忽视产品质量安全等行为,他们是否知晓?好特卖又是否存在蒙骗加盟商的情形?
虽然加盟模式可以帮助好特卖实现快速扩张,但售假风波引发的声誉受损、经济受损、法律风险、商业道德风险等问题,必然会影响加盟商利益,也进一步促使加盟商重新审视与品牌之间的合作关系。
在市场环境再次发生变化的大背景下,好特卖面临着入局竞争者变多、大牌临期商品货源正在减少等问题。究其根本,临期商品是一门仰人鼻息的生意。如果不能强化供应链能力、稳定货源渠道,再加上本次“售假风波”的冲击,好特卖的生意模式将难以持续发展。
参考资料:
1. 快消品中心《好特卖售假被查,涉及多个知名品牌》
2. 红星资本局《好特卖被举报售假,回应称系主动报警》
3. 界面新闻《好特卖的折扣魔法好像失灵了》


评论