界面新闻记者 |
9月7日,中国银行间市场交易商协会(以下简称“交易商协会”)发布消息称,南华期货股份有限公司(以下简称“南华期货”)因为“安排多家市场机构为其暂时持有某债券”以及“在其管理的2期资产管理计划之间输送交易利润”等问题,被交易商协会予以警告的自律处分。
通报内容显示,2022年8月中下旬,南华期货安排3家农商行违规开展多笔债券“代持”交易,并在其管理的两个不同产品之间输送“代持”利润。南华期货的行为违反了银行间债券市场相关自律管理规则,根据银行间债券市场相关自律规定,经自律处分会议审议,对南华期货予以警告。

这距离交易商协会对上一家金融机构因债券二级交易问题开出罚单仅过去两个多月。
6月30日,据交易商协会网站披露,平安养老保险股份有限公司作为相关非法人机构投资账户的管理人,于2021年1月初安排开展了不同账户之间的多笔债券交易以调节债券持仓,交易价格缺乏公允性,不反映正当业务目的或合理经济目的。被交易商协会予以警告。

值得一提的是,此次交易商协会针对南华期货因债券二级交易问题开出罚单后,又单独发文《惩处二级市场违规行为,强化债券交易自律管理》,指出除了南华期货,还有3家农商行分别参与相关“代持”交易。经自律处分会议审议,3家农商行因情节轻重分别被处以诫勉谈话或通报批评、责令整改的自律处分。

交易商协会对债券二级市场规范的决心可见一斑。
公平公正、健康有序的二级市场对于银行间债券市场发挥价格发现、提供流动性和服务实体经济的作用至关重要。据交易商协会,上半年共7家机构或个人因参与违规代持交易、在不同账户之间违规调节债券持仓等违规情形受到诫勉谈话至严重警告的自律处分;3家机构因参与发行“返费”、干涉发行利率被处分。
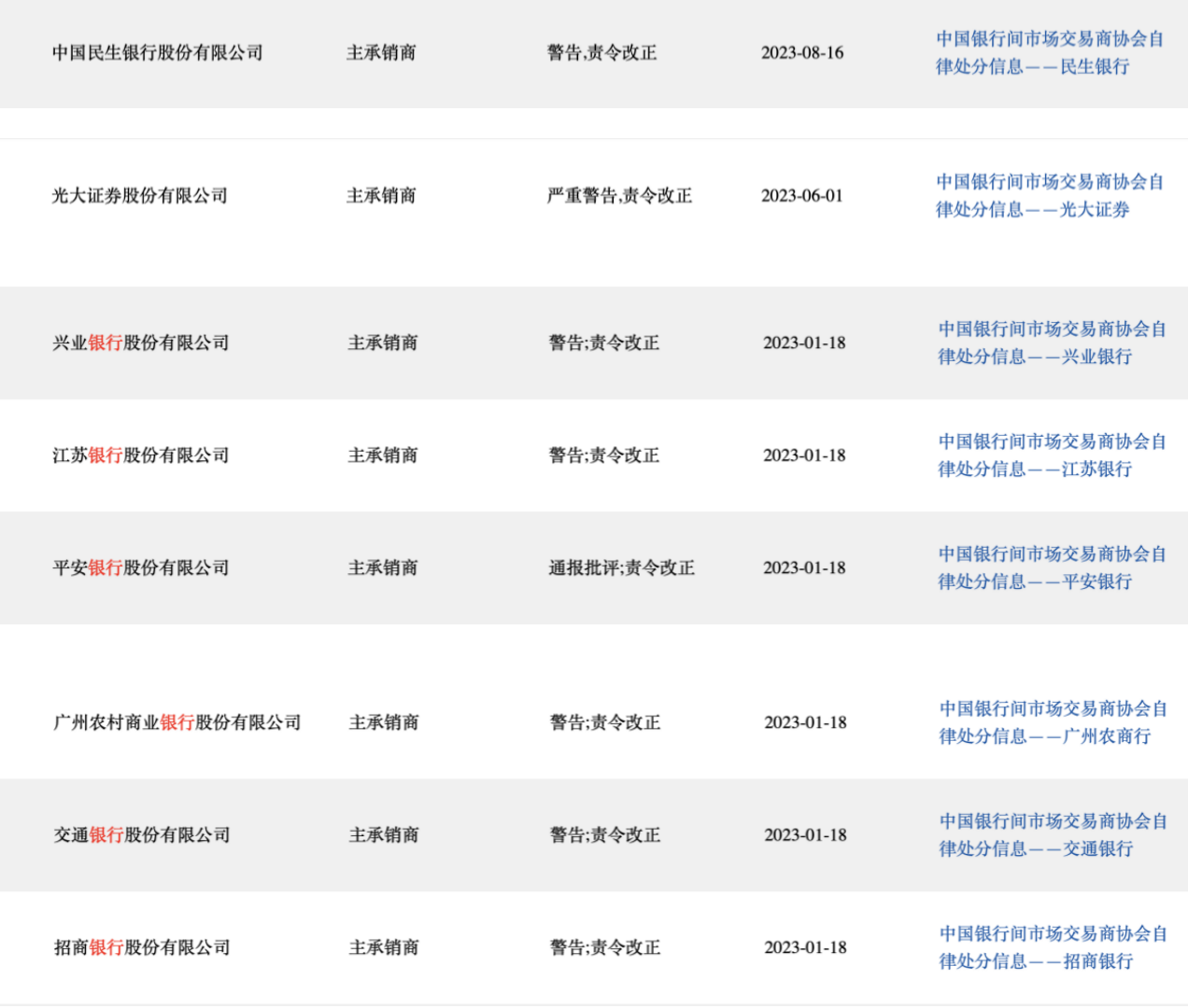
界面记者查看近期交易商协会公布的自律处罚决定,除了债券二级市场交易环节,债券发行也是交易商协会的监管重点。
截止至发稿日,今年已有8家主承销商因低价包销、挤占投资人正常投标等违规行为受到通报批评、警告等自律处分。交易商协会更是在今年年初一月之内为6家主承销商开出罚单。
2022年银行间市场现券交易总额已达271.2万亿元,较2021年增长26.4%。在市场快速发展的背景下,也暴露出部分市场机构“重规模、轻合规”“重收益、轻风险”的问题。
交易商协会指出,下一步将以维护市场公平和秩序为出发点,持续加强对二级市场交易行为的监测监督、合规督导及自律惩处,强化市场警示教育,维护市场秩序,推动银行间市场交易业务规范健康发展。



评论