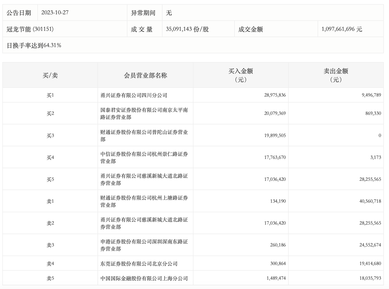
10月27日,冠龙节能今日涨停,龙虎榜数据显示,上榜营业部席位全天成交2.47亿元,占当日总成交金额比例为22.51%。其中,买入金额为1.06亿元,卖出金额为1.41亿元,合计净卖出3524.92万元。
具体来看,知名游资现身龙虎榜,甬兴证券有限公司四川分公司、作手新一(国泰君安证券南京太平南路证券营业部)分别买入2897.58万元、2007.94万元;财通证券杭州上塘路证券营业部、甬兴证券有限公司慈溪新城大道北路证券营业部分别卖出4056.07万元、2825.56万元。

来源:界面新闻
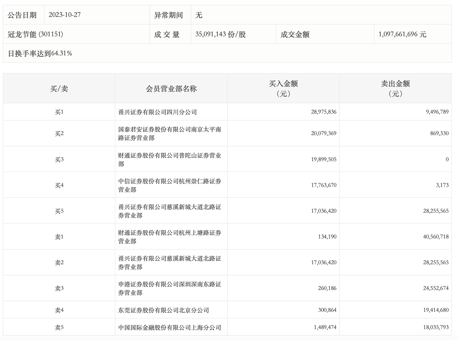
10月27日,冠龙节能今日涨停,龙虎榜数据显示,上榜营业部席位全天成交2.47亿元,占当日总成交金额比例为22.51%。其中,买入金额为1.06亿元,卖出金额为1.41亿元,合计净卖出3524.92万元。
具体来看,知名游资现身龙虎榜,甬兴证券有限公司四川分公司、作手新一(国泰君安证券南京太平南路证券营业部)分别买入2897.58万元、2007.94万元;财通证券杭州上塘路证券营业部、甬兴证券有限公司慈溪新城大道北路证券营业部分别卖出4056.07万元、2825.56万元。

评论