文|独角金融
编辑|郑理
11月14日一大早,一则“30亿量化跑路”打开了私募造假的潘多拉魔盒,并将多家私募、券商托管、信托等拖进泥淖,引发轩然大波。
据悉,出事私募包括深圳汇盛私募证券基金管理有限公司(下称“汇盛私募”)、杭州瑜瑶投资管理有限公司(下称“杭州瑜瑶”)、磐京股权投资基金管理(上海)有限公司(下称“磐京”)。最初将资金投向汇盛私募的百亿FOF私募北京华软新动力私募基金管理有限公司(下称“华软新动力”),在三家私募嵌套造假下,事件的演绎方向变成了华软新动力投出去的真金白银被卷走了。
此次私募跑路事件中“踩雷”的机构,除了华软新动力,还包括信托公司。根据“第一财经”报道,云南信托已经针对有关公司个别TOF产品合作方涉嫌违规违约的传闻,进行了排查。后续将按照信托文件约定和投资者意见采取相应措施,维护投资者合法权益。

截图来源:第一财经报道
一连串的造假方,是什么来头?经营异常的杭州瑜瑶,为何旗下产品仍然正常运行?当私募基金“跑路”,管理人又面临何种风险?
1、百亿私募“踩雷”,产品投资多层嵌套
先来还原华软新动力整个“投资”的过程。
最初,华软新动力将资金投进汇盛私募,后来汇盛私募又把钱投到了“杭州瑜瑶”,最后又投给磐石这家量化私募机构。值得注意的是,经过多层嵌套,最终穿透到一只没有托管人的私募产品上。当最底层的机构跑路,才东窗事发。
换言之,在这个过程中,投资者的资金如“接力棒”式的被投换了好几层,根据媒体报道的截图显示,投前的估值表和投后的业绩全是假的。

图源:网络
“”券商中国“援引知情人士透露,该嵌套产品的最后一层基金合同上的打款账户,不是产品账户,而是管理人的公司账户,等于资金直接打到了管理人账户里,之后被直接转移,而底层产品管理人一直在提供虚假估值。之前大家都没有发现,最近发现它估值出得越来越慢,甚至延期出,才导致事情败露。
华软新动力投资汇盛私募,这一层是合规的,但后者又去投资了“杭州瑜瑶”,这是违规的。根据《资管新规》规定,明令禁止私募多层嵌套。
浙江晓德律师事务所合伙人黄荣对《证券日报》表示,私募证券投资基金多层嵌套是指三层及以上的产品嵌套,并不被法律允许。多层嵌套结构,使监管层面难以穿透到每一层的产品,但凡有一层基金管理不到位,没有尽到适当性义务,都会导致投资出现风险,而且是很难把控的风险。风控管理不够严,再加上信息不对称,导致投资人对产品的投资、资金的流向难以把控。
“券商中国”探访其中一家涉事私募的办公场地时,发现已经人去楼空。独角金融发现,杭州瑜瑶、磐京均已无法取得联系。
为了维护投资人的合法权益,华软新动力表示,“因汇盛私募发生违约行为导致兑付困难。针对此次重大违约行为,华软新动力已经报案,尽最大努力实现和维护投资人的合法权益”。

图源:官方微信公众号
同一天,华软新动力还发布了另一份产品临时开放公告,根据《华软新动力平衡价值1号私募证券投资基金基金合同》相关条款规定,公司于2023年11月16日进行本计划临时开放,临时开放日仅接受赎回申请。
公开信息显示,注册及实缴资本6310万元的华软新动力,是市场上管理规模最大的证券私募FOF基金之一,目前基金资产管理规模超过百亿元,服务对象涵盖了银行、券商、期货、信托等金融机构,以及央企、国企、上市公司、家族客户等高净值客户。
根据私募排排网数据,2022年,华软新动力以202只的备案产品数量,排名私募基金第二名。
据公开资料显示,华软新动力董事长、总经理为徐以升,2015年加入该公司。作为百亿FOF私募机构,华软新动力在业内一直有着良好的商业信誉,其以稳健投资、保护投资者利益著称。
经过这场套娃式的造假,对公司造成何种影响,接下来会如何避免类似事件的发生?
华软新动力表示,目前持续经营,其余在管基金产品均正常运作,公司将本着审慎负责的态度,持续合规经营。
2、造假方何许人也?
一连串的造假方是什么来头?
汇盛私募管理规模为10亿元至20亿元,实际办公地在杭州。汇盛基金备案的9只产品,有5只标有“量化对冲”字样,该类产品由华福证券、国金证券进行托管。

图源:基金业协会
除了汇盛私募外,另外两家公司“杭州瑜瑶”“磐京”都曾出现违规行为。
天眼查APP显示,磐京基金成立于2015年,主要股东主要有两位,韩淑琴和毛崴,持股比例均为50%。目前,磐京基金对外投资10家公司,最著名的投资是大举增持A股上市公司大连圣亚。
但隐藏在交易大连圣亚背后的,是2021年12月,毛崴作为磐京时任董事长,证监会对其超比例增持、减持未报告、披露及在限制期内交易行为出具了《行政处罚决定书》,并处以30万元罚款,对其限制期内交易行为给予警告,并处以1500万元罚款,合计罚款1530万元。
事件还要追溯到2017年11月至2019年7月,彼时,毛崴等人通过磐京基金工作人员,控制使用磐京基金机构账户、“新证泰6号”等10只信托产品账户、7只私募产品账户、37个个人账户共55个证券账户交易大连圣亚股票,累计增持18.18亿元,减持16.35亿元。
基金业协会数据显示,2015年-2018年,是磐京基金发展的高光时刻,在此期间该公司曾备案了20多只基金产品,但2018年喜提多个私募大奖后,管理规模持续扩大的磐京再未新发基金。
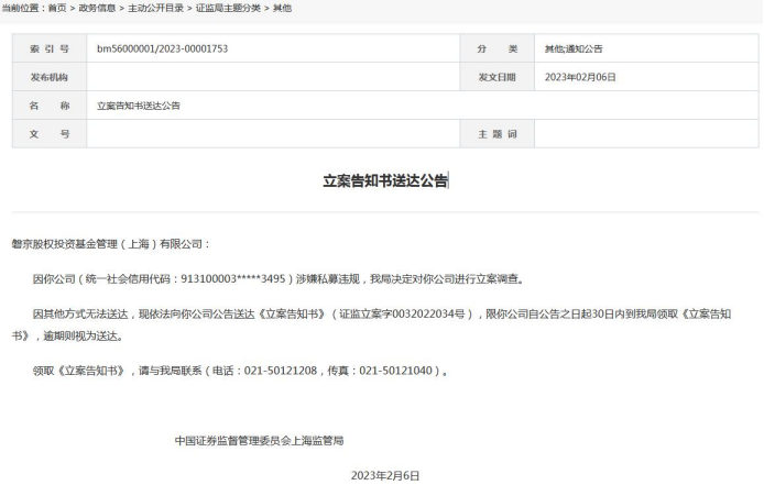
2022年9月8日,因“异常经营”,以及无法持续符合管理人登记要求,磐京基金被中基协注销。截至注销时,公司仍有6只产品未在系统提交清算。谁也没有料到,已经注销的磐京,居然参与了此次诈骗案的局中局。
2023年2月,因涉嫌私募违规,上海证监局对磐京进行立案调查。

磐京还有一则鲜人为知的故事。2018年,磐京利用漏洞成立了一只股权类私募产品,带上“证券”二字,而此时,股权类产品的资金是可以绕开托管的。起初,该公司做了市值管理炒股赚钱,收益率的优势,加上还有劣后资金托底,吸引了众多机构投资者。
不料,玩火必自焚。2023年11月6日,毛崴曾因涉嫌实施操纵证券市场,也被立案调查。
另一家私募机构杭州瑜瑶,2017年6月成立,根据企查查信息显示,该公司由2名自然人股东持股,杨泽斌是其大股东,持股82%,何国清持股18%,这家公司实缴资本200万元,管理着规模20亿-50亿元的资金,公司目前状态为经营异常。
2022年6月13日,杭州瑜瑶被浙江证监局采取出具警示函的行政监管措施,主要原因是,2021年7月至2022年3月,杭州瑜瑶在开展私募基金业务中,发行并管理的瑜瑶战鼓五号私募存在总资产占净资产的比例超过200%的情形。
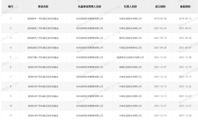
但从基金业协会备案信息看,杭州瑜瑶有11只产品仍在运作中,托管人为华泰证券。


图源:基金业协会
而在私募机构投资时,应采取哪些措施规避风险?广科咨询沈萌称,私募产品是不是造假,很容易查验,私募机构和产品都必须在协会备案。
IPG中国首席经济学家柏文喜称,防范这类事件发生,一是要进行尽职调查:私募机构应在投资前对目标企业进行全面的尽职调查,了解其经营状况、财务状况、行业前景等方面的信息,以便做出合理的投资决策。
二是要评估合规性。私募机构应评估目标企业是否符合相关法律法规和监管要求,避免因违规行为而导致的风险。
三是建立风险控制机制。私募机构应建立完善的风险控制机制,对投资项目进行风险评估、监控和预警,及时发现并应对风险。
四是寻求专业意见,私募机构可寻求专业法律、财务等第三方机构的意见,以确保投资决策的合规性和风险可控性。
3、私募基金“跑路”,管理人面临何种风险?
华软新动力“踩雷”在市场引起轩然大波,除了对私募市场多层嵌套问题、对私募产品估值表的真实性提出质疑外,当私募基金“跑路”,管理人又面临何种风险?
一直以来,私募基金的监管都是中国金融监管机构重点关注的领域,2023年7月9日,《私募投资基金监督管理条例》发布,并于2023年9月1日正式实施。对于违法行为或不配合调查的私募基金处罚力度和覆盖面也更广。在这样的严监管背景下,为何还有私募基金跑路事件的发生?
首先先来了解私募基金,是指以非公开方式向合格投资者募集资金,由基金管理人进行管理,为投资者的利益进行投资活动的投资基金。
在实践中,涉私募基金非法集资案件通常分为以下三类,一是涉案的资金募集机构、私募基金主体未持牌即对外吸收资金。这些私募基金和募资机构未经中基协登记、备案,涉嫌非法吸收公众存款。
第二类是持牌私募基金管理人,打着“私募基金”的旗号发售一些未注册备案的私募基金产品进行非法集资,同样可能涉嫌非法吸收公众存款罪。
三是私募基金已经经过中基协的登记、备案,但在私募基金运作的过程中,出现了违反禁止非法集资的相关法律、法规,或者是以私募基金的合法外衣,实施非法集资行为,包括非法吸收公众存款罪或集资诈骗罪等。
针对此次量化私募跑路事件,中国社科院产业金融研究基地特约研究员肖飒团队认为,如果信息属实,作为私募基金管理人即其他相关涉案人员、造假人员很有可能是打着合法私募的旗号,进行诈骗的行为。而如果量化私募基金“投前的估值表和投后的业绩全是假的”,在该种情况下,杭州瑜瑶很有可能构成诈骗罪。
这起事件的背后,也引发了更深层的疑问,私募基金是否应基于净值做投资,而基于净值的投资是又否值得依赖与信任?
对此,金乐函数分析师廖鹤凯认为,私募基金不能只基于净值做投资,太多因素影响净值,而且不同的基金规模、不同的投资模式,甚至不同的净值计算方法都会影响净值的表现。
与公募基金实施审批制不同,私募产品实施的是备案制,优势则是资金来源多样化,但一些机构可能会通过相应手段来规避备案以此获得不当利益。你对私募基金行业了解吗?有遇到过没有托管的私募产品吗?评论区聊聊吧。


评论