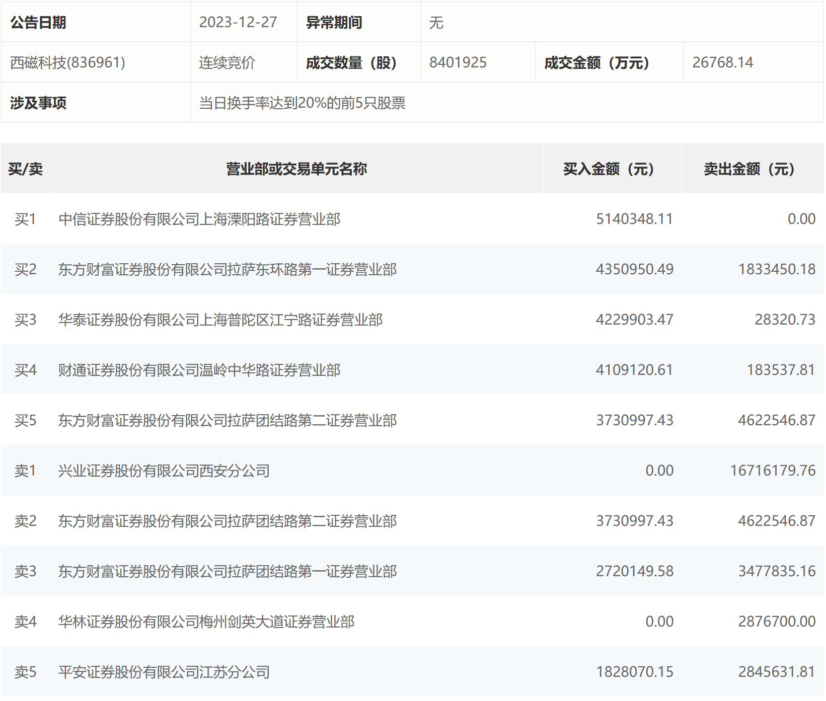
12月27日,西磁科技今日涨1.23%,龙虎榜数据显示,上榜营业部席位全天成交5869.37万元,占当日总成交金额比例为21.93%。其中,买入金额为2610.95万元,卖出金额为3258.42万元,合计净卖出647.47万元。
具体来看,知名游资现身龙虎榜,孙哥(中信证券上海溧阳路证券营业部)、东方财富证券拉萨东环路第一证券营业部分别买入514.03万元、435.10万元;兴业证券西安分公司、东方财富证券拉萨团结路第二证券营业部分别卖出1671.62万元、462.25万元。

来源:界面新闻
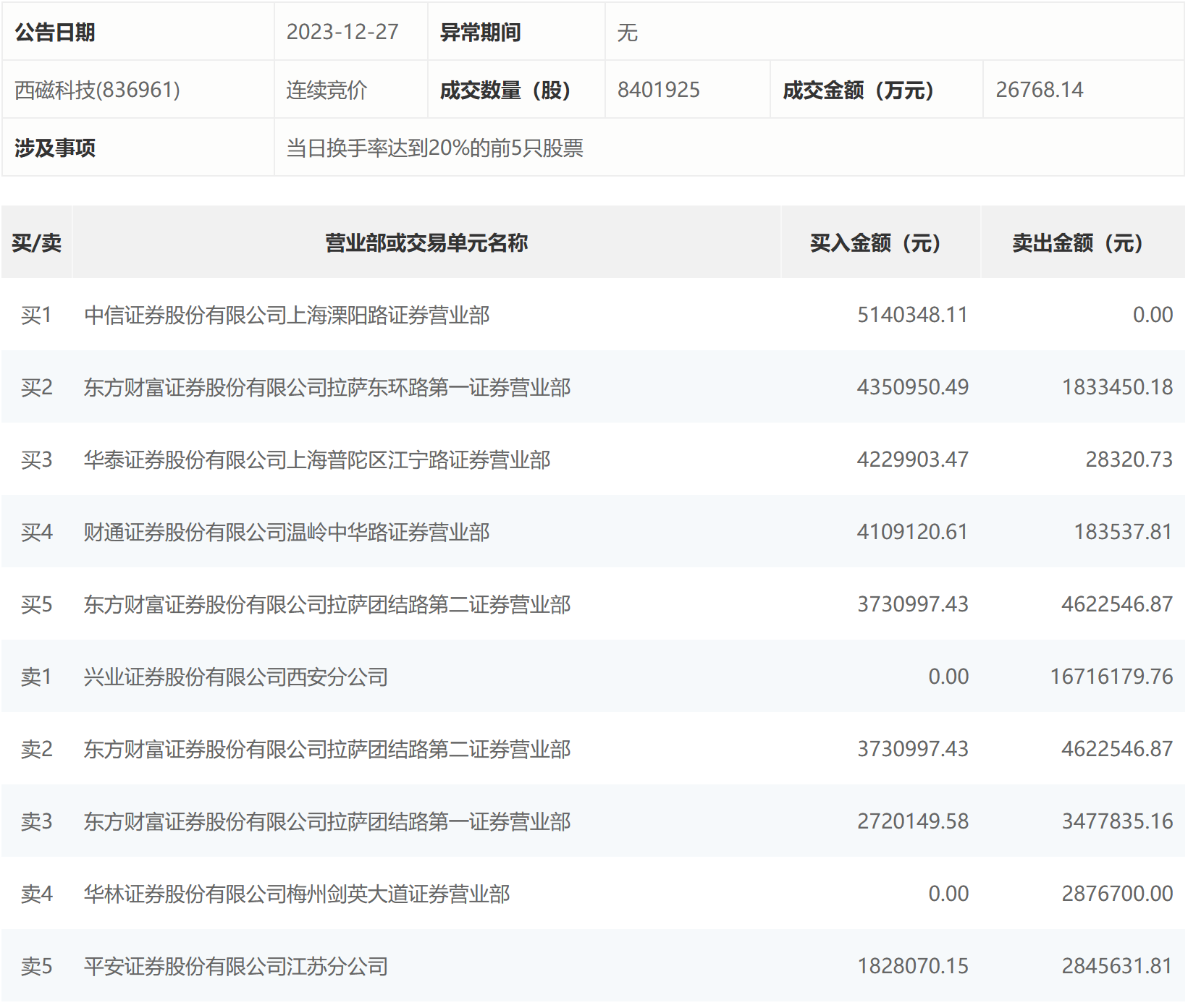
12月27日,西磁科技今日涨1.23%,龙虎榜数据显示,上榜营业部席位全天成交5869.37万元,占当日总成交金额比例为21.93%。其中,买入金额为2610.95万元,卖出金额为3258.42万元,合计净卖出647.47万元。
具体来看,知名游资现身龙虎榜,孙哥(中信证券上海溧阳路证券营业部)、东方财富证券拉萨东环路第一证券营业部分别买入514.03万元、435.10万元;兴业证券西安分公司、东方财富证券拉萨团结路第二证券营业部分别卖出1671.62万元、462.25万元。

评论