文|红餐网 简煜昊
编辑|景雪
日前,有消息称武汉餐饮名企“武汉亢龙太子酒轩”被法院查封,且在阿里资产司法拍卖网上被司法拍卖。
2月18日,武汉亢龙太子酒轩有限责任公司发表声明,称公司已经通过招商引资等方式进行生产自救。
对此,有网友直言:“曾经的餐饮王者,走到今天这步真是一言难尽啊!”
据红餐网了解,这已经不是武汉亢龙太子酒轩第一次面临司法拍卖。武汉这艘“餐饮航母”,到底怎么了?
被法院拍卖、总起拍价超16亿,门店目前仍正常营业

红餐网核实发现,武汉亢龙太子酒轩(以下简称“亢龙太子”)资产拍卖由湖北省武汉市中级人民法院发起。
今年1月15日,湖北省武汉市中级人民法院公开了一则竞买公告。公告消息显示,湖北省武汉市中级人民法院将于2024年2月21日10时至2024年2月22日10时止(延时除外)在湖北省武汉市中级人民法院淘宝网司法拍卖网络平台(即阿里资产司法拍卖网)上进行公开拍卖活动。
这次拍卖的资产包括武汉亢龙太子酒轩A座、武汉亢龙太子花园酒店二期B区在建工程两大资产。其中,亢龙太子酒轩A座是目前亢龙太子酒轩金融店的所在地,起拍价为6.5亿元;亢龙太子花园酒店二期B区在建工程,起拍价为10.05亿元。

图片来源:截图自阿里资产司法拍卖网
不过,亢龙太子并不打算让自家的核心资产就这样被拍卖,开始通过招商引资等方式积极自救 。
2月18日,武汉亢龙太子酒轩有限责任公司发表声明称,公司已通过招商引资等方式进行生产自救,拟定于2024年2月19日正式向武汉市中级人民法院提交预重整申请文件。

图片来源:武汉亢龙太子酒轩公众号
根据公开信息,预重整是一种债务重组的方式,即当事人在向法院提出破产重整申请之前,就重整事项进行谈判并达成重整计划草案的一种困境企业拯救机制。
换句话说,预重整就是让困境企业与债权人自主协商,通过再建型债务清理实现企业重生。
亢龙太子此举也被解读为:拒绝被拍卖,积极自救重生。
值得注意的是,截至今日(2月22日)上午10点,亢龙太子的两起拍卖均已结束,两条拍卖信息引来超1.7万次的围观,但均因无人出价,最终以流拍收场。

图片来源:截图自阿里资产司法拍卖网
发稿前,红餐网也尝试拨打了亢龙太子金融店的门店电话,对方工作人员接通后表示,门店目前依然处于正常营业状态,可以接受对外预订用餐。
欠款、股权冻结、创始人被限高……武汉“餐饮航母”身陷泥淖
事实上,这并不是亢龙太子第一次面临司法拍卖。
2023年4月,武汉亢龙太子花园酒店二期(B区)在建工程就曾在阿里资产司法拍卖网上挂牌,起拍价为10.05亿元。
彼时,湖北省武汉市中级人民法院发布公告称,将于2023年5月22日10时至2023年5月23日10时止(延时除外)对该资产进行公开拍卖。然而后续因为拍卖项目的规划以及配套方面出现了新的情况,该拍卖被中止。

图片来源:截图自阿里资产司法拍卖网
红餐网查阅企查查信息发现,武汉市亢龙太子酒轩有限责任公司已被列为被执行人,目前仍身陷多起与金融借贷和欠薪相关的诉讼。
此外,去年12月起,该公司的2500万股权已经遭到冻结,创始人宋红玉也被限制高消费。
如果将时间维度拉得更长一些,还会发现,自2019年起,亢龙太子就屡被传出门店收缩、拖欠员工工资及银行款项等负面信息,几度陷入舆论漩涡。
2019年3月,网上曾流出一份亢龙太子写给政府的求救报告,报告称公司已欠13家金融机构和35家企业和个人的借款,资金链已断裂,无力偿还到期的借款本息。其中,仅13家金融机构的欠款便已高达29亿零414万元。
彼时,不少餐饮界同行都表示十分震惊。随后,亢龙太子也发声明,称网传的文件及求助报告均为恶意造谣、中伤,已经报警处理,并表示“公司承接的各类宴席等经营一切正常,全体员工以饱满的工作热情服务于各界消费者。”但声明并未正面回应是否真的欠款,以及资金情况到底如何。
而透过中国裁判文书网公布的判决书可以看到,2019年前后,武汉市亢龙太子酒轩有限责任公司及其创始人宋红玉确实涉及多起与借贷相关的诉讼,结合多份相关裁判文书的信息粗略统计,彼时其需要偿还的金额与利息已经突破亿元。
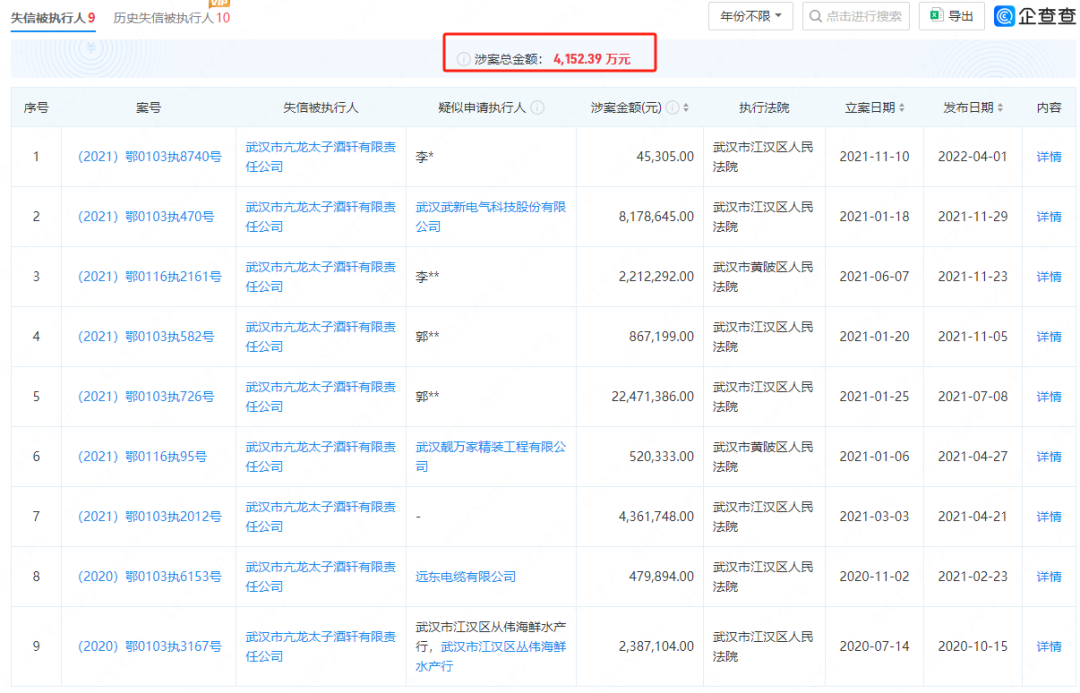
企查查信息显示,从2020年开始,亢龙太子就多次被法院列为“失信被执行人”,涉案总金额超4000万元。

图片来源:截图自企查查
与此同时,亢龙太子的门店数也在不断减少。
公开信息显示,亢龙太子这家成立超30年的餐饮名企,从只有7张桌子的小餐馆起步,巅峰时期曾开出5家直营门店,营业面积超过6.5万平方米,员工一度超4000人,不但是武汉当地人宴请朋友、办酒席婚宴的首选,也是外地游客打卡的必吃之店。
然而,2021年1月,亢龙太子相关负责人接受楚天都市报记者采访时就表示,酒店仅剩3家门店;再到了2023年11月,亢龙太子酒轩东湖店公开宣布,因房屋租赁到期,门店即刻起关闭,整体搬迁至汉口太子花园酒店,即如今的金融店处。
到今天,亢龙太子已仅剩一家店。
亢龙太子为何会沦落至此?是不适应大众需求,被时代淘汰还是创始团队战略失误?
对此,有武汉当地的餐饮朋友早在2019年就告诉红餐网,称创始人宋红玉转战房地产业务可能是拖垮亢龙太子的主因之一。
企查查信息显示,目前由宋红玉担任法定代表人的企业还有17家,这些企业的主营业务包括餐饮、电气设备生产/批发、酒店管理、票据鉴伪查询服务等。
此外,亢龙太子一直都选择自建固定资产,也可能为其带来不小的经营压力。

图片来源:亢龙太子酒店官网
就拿被拍卖的亢龙太子花园酒店二期项目来看,招标资料显示,亢龙太子花园酒店二期B区项目总建筑面积130304.68平米,建筑高43层 ,工程造价预计1.8亿,定位为“9A钻石级写字楼”。公开资料还显示,该项目的开工时间为2013年11月1日,预计竣工时间为2017年5月。但截至目前,该项目仍未竣工。
“房地产与餐饮不同,需要强大的资金支持、长期投入,一旦资金链出现问题,就有可能连累,甚至拖垮公司的其它业务。”有餐饮业内人士如是评价道。



评论