文|野马财经 刘钦文
编辑|李白玉
广东人餐桌有三宝:红罐王老吉、绿罐天地壹号、金罐东鹏特饮。三罐饮料,几乎俘获了各个年龄段的广东人。
如今,这三宝有望在A股相聚,王老吉属于上市公司白山云(603099.SH)、东鹏特饮属于东鹏饮料(605499.SH),天地壹号饮料股份有限公司(下称“天地壹号”)则于近日发布公告表示,拟公开发行股票并在深交所主板上市,已提交辅导备案材料,辅导机构为中信证券。
一瓶苹果醋背后,藏着多少生意经?
年入10亿,黄晓明代言
俗话说,一方水土养一方人。反过来说,每个地方的人,都有着自己的独特饮食习惯。在“喝”方面,也不例外。西安有冰峰、北京有北冰洋、哈尔滨有大白梨、武汉有二厂汽水,广东则是天地壹号。
上世纪90年代,在当时的广东餐桌上,忽然刮起了一股健康风潮,不少人爱上了雪碧+醋的新式喝法。天地壹号便诞生于这样的历史背景,醋饮料应运而生。
为迅速打开品牌知名度,2010年初,天地壹号与电视剧《家有儿女》的五位主演签约,宋丹丹、张一山等五位明星成为天地壹号产品的代言人,而“吃饭喝啥?天地壹号!”的广告语更是被消费者熟知。
一款苹果醋也收割了上亿营收。天地壹号的总营收从2014年的11.26亿元,涨至2019年的25.85亿元。
得益于广东当地的饮食习惯,天地壹号迅速打开广东市场。财报显示,2021年天地壹号来自广东的营收为12.37亿元,占到当年总营收的68.08%。
“从目前来看,苹果醋的这个赛道有很强的地域性,在广东肯定已经进入了成熟期,已经到了天花板,但省外苹果醋的普及率和渗透率远不及各类碳酸饮料。所以苹果醋能否有成为椰汁的地位,还需要依赖更广的覆盖区域,让更多地区的人接受苹果醋才能把蛋糕做大。”知名投资人史松坡表示。
为了打开全国市场,天地壹号费了不少功夫。天地壹号在全国各地设置分销网络,包括几百家经销商,经销商通过数千家分销商及零售商在数十万个销售终端销售公司产品。并为经销商设置利润分成及激励计划,例如向达到或超额完成销量的经销商,提供价格折扣等。
截至2022年,天地壹号拥有销售人员2190人。财报显示,天地壹号2022年销售费用中,人工费用为第一大支出,为2.27亿元。
除此之外,2022年11月,天地壹号官宣黄晓明为品牌代言人。财报显示,天地壹号2022年的市场推广费和广告费为1.07亿元、0.45亿元。
图源:天地壹号财报
十年时间,天地壹号销售费用占总营收的比重,从2014年的24.17%,涨至2023年6月30日的65.4%。
不过,值得注意的是,自2019年收获了25亿元的高位营收后,天地壹号的营收便一路滑坡,并由盈转亏。2020年-2022年,营收分别为19亿元、18.17亿元、10.13亿元,净利润分别为2.49亿元、2.54亿元和-1.6亿元。
这也导致天地壹号的经营活动现金流由正转负,分别为9468.79万元、-886.16万元和-1.52亿元。“2022年经营活动产生的现金流量净额较2021年降幅为1612.71%,主要系受外部环境影响,销售回款节奏放缓而日常经营支出较稳定所致。”天地壹号表示。
估值116亿元,与员工、客户存纠纷
虽然三年疫情下,天地壹号的业绩表现不振。不过,天地壹号的商业能力受到了许多投资机构的青睐和认可。包括广发证券、申万宏源、深创投、广东红土等均为股东。
2012年4月,陈生向深创投、广东红土、中科恒业等转让合计6.1%股份;2015年,广发证券、睿联新杉、招商证券等,以17.5元/股的价格参与定增;2016年,申万宏源、北京天星盛世投资中心等,以25元/股的价格参与定增,成为股东;2021年3月,央企产业基金以26.3元/股的价格对天地壹号定增,天地壹号完成募资3.156亿元。
定增完成后,天地壹号估值116亿元。

图源:天地壹号官网
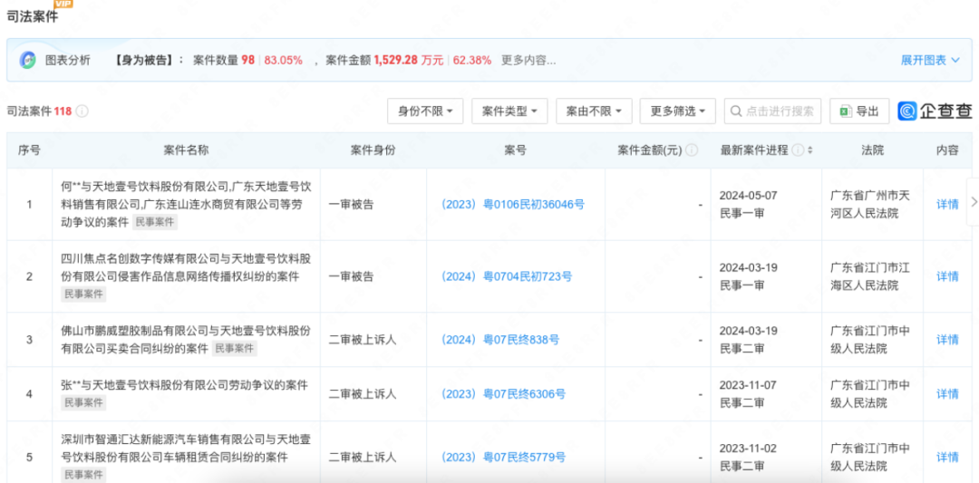
企查查显示,天地壹号涉及司法案件118起,其中83.05%为被告身份,被告案件金额达1529.28万元。

图源:企查查
案件中,原告的身份既有天地壹号的客户,也有供应商、员工。诸多案由中,最多的为机动车交通事故责任纠纷,达到57起。
裁判文书显示,2019年11月18日,天地壹号的员工付某,驾驶粤J号小型面包车沿抚州市东乡区朝阳大道由北向南行驶,途径抚州市东乡区朝阳大道仕博园小区门口路段时,与前方同向孙某驾驶的二轮电动自行车,发生追尾碰撞。
《交通事故认定书》显示,付某在行车过程中,遇前方车辆,未保持安全距离,未按照规范、文明驾驶,未确保安全行车是引发事故的根本原因,负事故全部责任。粤J号车所有人为天地壹号。
交通事故导致孙某受伤、车辆损坏,并在医院住院32天。最终认定,孙某颅脑损伤十级伤残,腰椎横突骨折十级伤残。最终判定由太平洋财险支付孙某9.2万元,付某、天地壹号支付案件受理费1042元。
类似于此案件,因天地壹号司机驾驶不当,造成的交通事故案件数不胜数。
同时,天地壹号还存在拖欠员工分红的情况。
熊某主张其于2016年3月20日入职壹号饮料公司、壹号好水公司,岗位为广州商超办业务员,到2019年3月1日期间多次升职,最终为广州商超部易初系统办事处负责人。
但双方到2018年5月1日,才签订有《劳动合同》。熊某主张,根据薪酬制度,2018年熊某的销售结算周期期间全年任务为2520万元,全年打货回笼额为5234万元,全年打货完成率为207.7%。公司应支付超额分红款16.28万元。
但壹号好水辩称,熊某是于2018年5月1日入职壹号好水公司,壹号好水公司于2019年9月12日出具《熊某解除/终止劳动关系通知书》。没有证据证明壹号好水与熊某之间存在任何关于2018年超额分红的约定,也没有证据证明壹号好水承接熊某所主张的《2018南方战区业务线薪酬制度(A)》的责任和义务。
最终经法院认定,熊某的工作时间一直从2016年3月21日持续至2019年12月22日。壹号饮料公司、壹号好水公司无论是经营范围还是用工管理并无明显区分,壹号饮料公司、壹号好水公司为关联公司,构成混同用工。壹号饮料公司、壹号好水公司支付超额分红差额16.28万元、未休年休假工资差额3246.57元。
供应商方面,2022年,天地壹号与江苏金祥建设工程有限公司发生建设工程合同纠纷,江苏金祥向河北省永清县人民法院提起诉讼,要求天地壹号承担合计1164万元逾期工程款、违约金及赔偿金等,同时申请了财产保全。该起案件导致天地壹号被强制执行698万元。
企查查显示,因诉讼纠纷,天地壹号四次成被执行人,被执行金额合计达720.3万元。

图源:企查查
财报显示,截至2023年6月30日,天地壹号还存在多起诉讼、仲裁事项,作为被告、被申请人身份的金额累计达672.71万元,作为原告、申请人身份的为52.12万元。

图源:天地壹号财报
“北大猪肉佬”的商业版图
实际上,天地壹号和部分员工之间虽有纠纷,但也有些“人文关怀”。2022年5月,一份天地壹号的520放假通知刷屏。“你不婚,家族香火谁来接!我不生,民族复兴谁来撑!”在520的放假通知中,天地壹号公开“催生”,表示5月20日给后台员工带薪放假1天,谈谈情、说说爱、造造娃。

“放假造娃”背后,天地壹号创始人陈生“北大毕业,转行杀猪”的传奇人生更为人乐道。
1962年,陈生出生在广东湛江一个普通农村家庭。12岁那年父亲去世,第一年陈生高考落榜后,继续复读。第二年,陈生不负所望考入了北大,但对于靠天吃饭的农村家庭来说,实在没有多余的钱去交学费。这时村民们得知村里出了一个北大的大学生,自发捐钱,给陈生凑足了北上的学费。
背负着全村的希望,陈生在北大苦读,毕业后被分配到广州市市委办公厅,拿到了“金饭碗”。但陈生显然不满足于此,最终决定辞职创业。
辞职后他摆过摊、种过菜,1990年拿着挣到的一百多万投身房地产,没过几年就做到了湛江房地产界的老大。1997年,抓住广东当地“雪碧兑陈醋”的喝法,创立了天地壹号。
截至2023年6月30日,陈生在天地壹号持股72.53%,陈生的弟弟王广为公司董事,持股4.64%,黎晋东为陈生妻弟,持股0.46%。
图源:天地壹号官网
北大才子陈生对于资本市场一直都情有独钟。2012年,便带领天地壹号冲刺A股,但未成功。2015年转至新三板,新三板上市成功后,又于2016年、2022年冲刺A股,加上这次,这已经是天地壹号第四次向A股发起冲刺。
冲刺A股的同时,陈生还做起了猪肉生意。于2007年成立了“壹号土猪”品牌,北大猪肉佬的名号便是由此而来。
据官网所述,“壹号土猪”的诞生,始于2006年,陈生在广州菜市场闲逛,发现偌大的菜市场,却并没有什么像样的猪肉品牌。经过认真调研和考察,陈生和其团队发现当时市场上流通的猪肉大部分来源于从国外引入的洋猪种。到此,陈生敏锐地嗅到了万亿市场里的大商机。
为了找到好吃的猪肉,陈生和团队背着电磁炉从南吃到北,将各地名优品种猪肉的不同部位用清水煮来品尝,并对猪肉的弹性、色泽、口感、味道等一一记录。
京东页面显示,壹号土猪的排骨肉片3斤209.8元,壹号土鸡2只248元。
图源:京东app
据《科创板日报》报道,陈生曾对媒体表示,壹号土猪也有上市计划,天地壹号和壹号土猪的营收比例大约是6:4,前者10多个亿,后者也接近10亿元。
也就是说,如上市计划顺利,陈生有望持有两家A股上市公司。
但值得注意的是,据wind统计,2015年至今,天地壹号共分红12次,分红金额合计23.17亿元。与分红相比,天地壹号2015年至今的净利润为18.99亿元。也就是说,八年半里,天地壹号的分红占到了净利润的122.01%。

图源:wind


评论