界面新闻记者 |
港股上市公司退市数量保持高位。
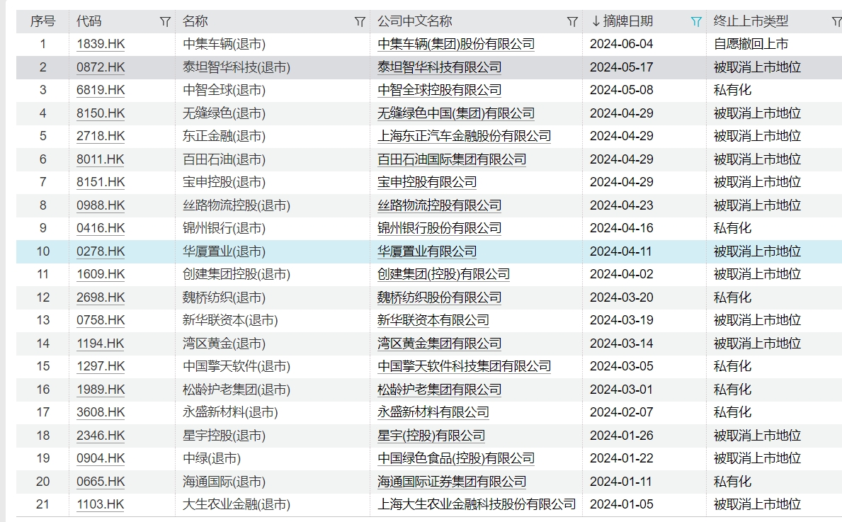
Wind数据显示,截止到6月11日,港股今年退市的公司有21家。其中,私有化7家,被取消上市地位有13家,一家为自愿撤回上市。相比之下,2023年退市的港股企业为58家,2022年为64家,均保持高位。

相比之下,今年港股截止到目前一共有24家公司上市。港交所行政总裁陈翊庭近日表示,预计大型IPO将重现市场,目前有100家企业正在港交所排队上市。
虽然港交所的IPO呈现出一定的复苏态势,但是其IPO的数量相比于去年同期仍然同比减少11.1%。相比之下,被取消上市地位一项上,2018年以该原因退市的公司数量仅为4家。
汇生国际资本总裁黄立冲告诉界面新闻记者,之所以退市公司数量较多,主要是疫情以来,部分企业的经营受到影响,业绩出现下滑。此外,有公司是以前有一些潜在的问题爆雷了,这种情况之下,自然就是退市的比较多。这类公司一般市值较小,流动性较低,且股价较低。另外,港股的退市新规也有影响,现在主板停牌18个月之后就要强制退市,这就是说,公司如果停牌时间过长同样面临这样的风险。

2018年,港交所修改上市条例,即所谓“快速除牌”机制,主板上市公司若连续停牌超过18个月,港交所有权取消公司的上市地位。(主板《上市规则》第6.01A条)。
此外,GEM上市公司若连续停牌超过12个月(GEM《上市规则》9.14A条),港交所有权取消公司上市地位,也可视乎个别停牌公司的具体事项和情况随时刊发除牌通知。港交所还会给停牌上市公司一个补救期,如果在补救期内未能复牌,港交所就将其除牌。
独立股评人岑智勇向界面新闻记者分析指出,取消上市,一般都是公司表现差、有问题。私有化,一般是大股东觉得现价未能反映公司真正价值,所以趁便宜时选择进行私有化。
作为自愿撤回上市的公司,6月3日晚,中集车辆发布了关于H股股票退市生效的公告,公司H股股份已正式从香港联交所撤销上市。
“因为H股的交易量较低且流动性有限,导致公司难以在港股市场进行融资;H股回购要约落实能够为接纳的H股股东带来一次性投资收益;另外公司能够节省与H股上市监管合规相关的成本及费用。”中集车辆表示。
针对自愿撤回上市的行为,岑智勇指出,因为上市也需要成本,所以会一并考虑。
有资深港股分析人士向记者分析称,部分公司上市以后,没有成交量,但是为了保持公司的上市地位,又需要有各种各样支出,同时还要面临正常的监管,这里面存在很多不方便的因素,如果这家公司在香港既没有成交,也没有人关注,这就意味着几乎已经失去了融资功能。



评论