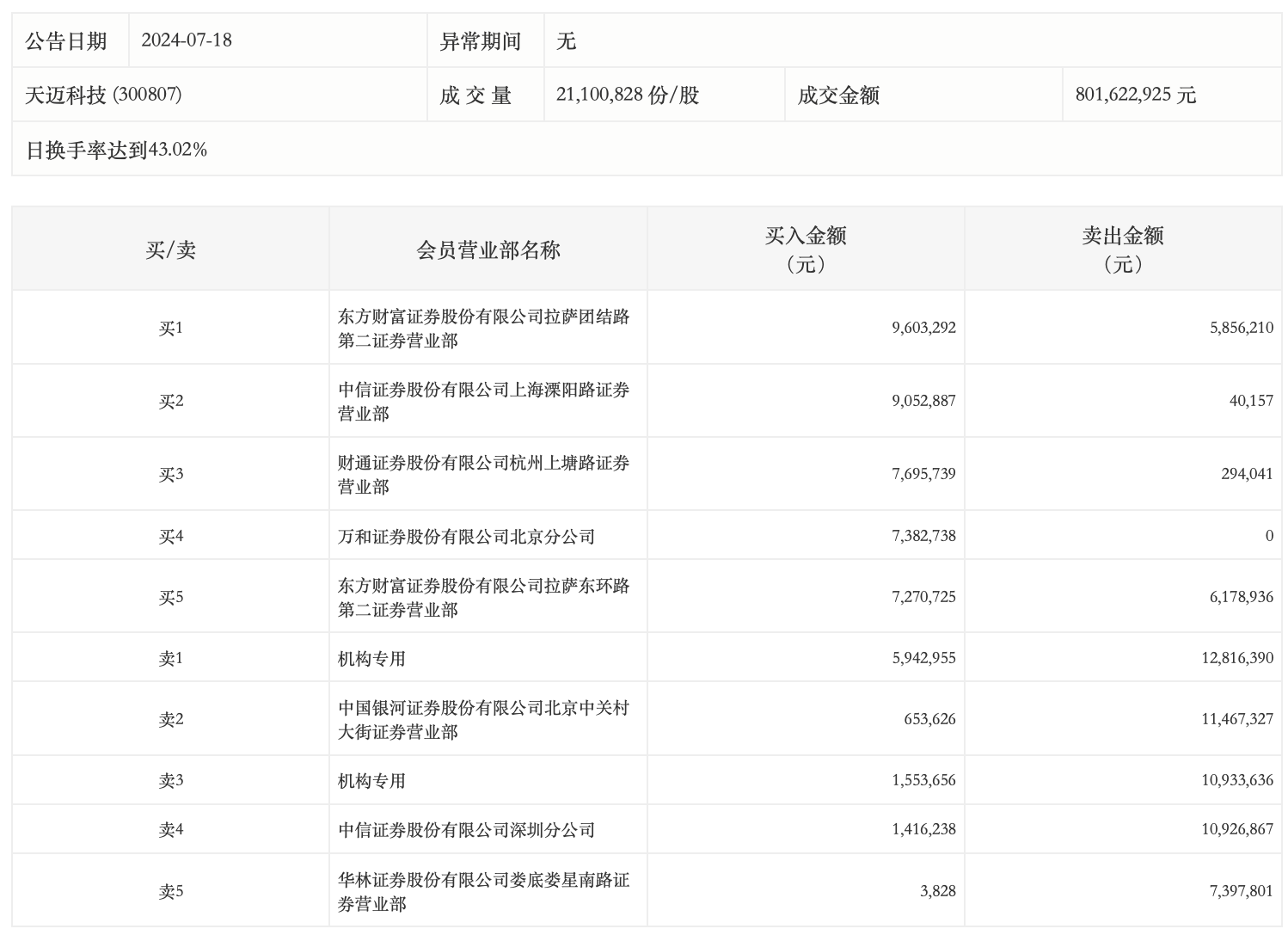
7月18日,天迈科技今日涨停,龙虎榜数据显示,上榜营业部席位全天成交1.16亿元,占当日总成交金额比例为14.53%。其中,买入金额为5057.57万元,卖出金额为6591.14万元,合计净卖出1533.57万元。
具体来看,机构买入749.66万元,卖出2375.0万元,合计净卖出1625.34万元。此外,知名游资现身龙虎榜,东方财富证券拉萨团结路第二证券营业部、孙哥(中信证券上海溧阳路证券营业部)分别买入960.33万元、905.29万元;中国银河证券北京中关村大街证券营业部、中信证券深圳分公司分别卖出1146.73万元、1092.69万元。

评论