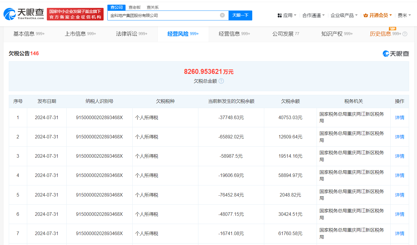
天眼查经营风险信息显示,近日,*ST金科(000656)新增欠税公告,欠税税种含个人所得税、印花税、增值税、城市维护建设税,欠税余额合计8246万余元。

金科地产集团股份有限公司成立于1994年3月,法定代表人为周达,注册资本约53.4亿人民币,由黄红云、重庆市金科投资控股(集团)有限责任公司、重庆国际信托股份有限公司等共同持股。风险信息显示,该公司存在290条被执行人信息,被执行总金额超39亿,此外还存在多个失信被执行人、限制消费令、终本案件等信息。
来源:界面新闻
天眼查经营风险信息显示,近日,*ST金科(000656)新增欠税公告,欠税税种含个人所得税、印花税、增值税、城市维护建设税,欠税余额合计8246万余元。

金科地产集团股份有限公司成立于1994年3月,法定代表人为周达,注册资本约53.4亿人民币,由黄红云、重庆市金科投资控股(集团)有限责任公司、重庆国际信托股份有限公司等共同持股。风险信息显示,该公司存在290条被执行人信息,被执行总金额超39亿,此外还存在多个失信被执行人、限制消费令、终本案件等信息。
评论