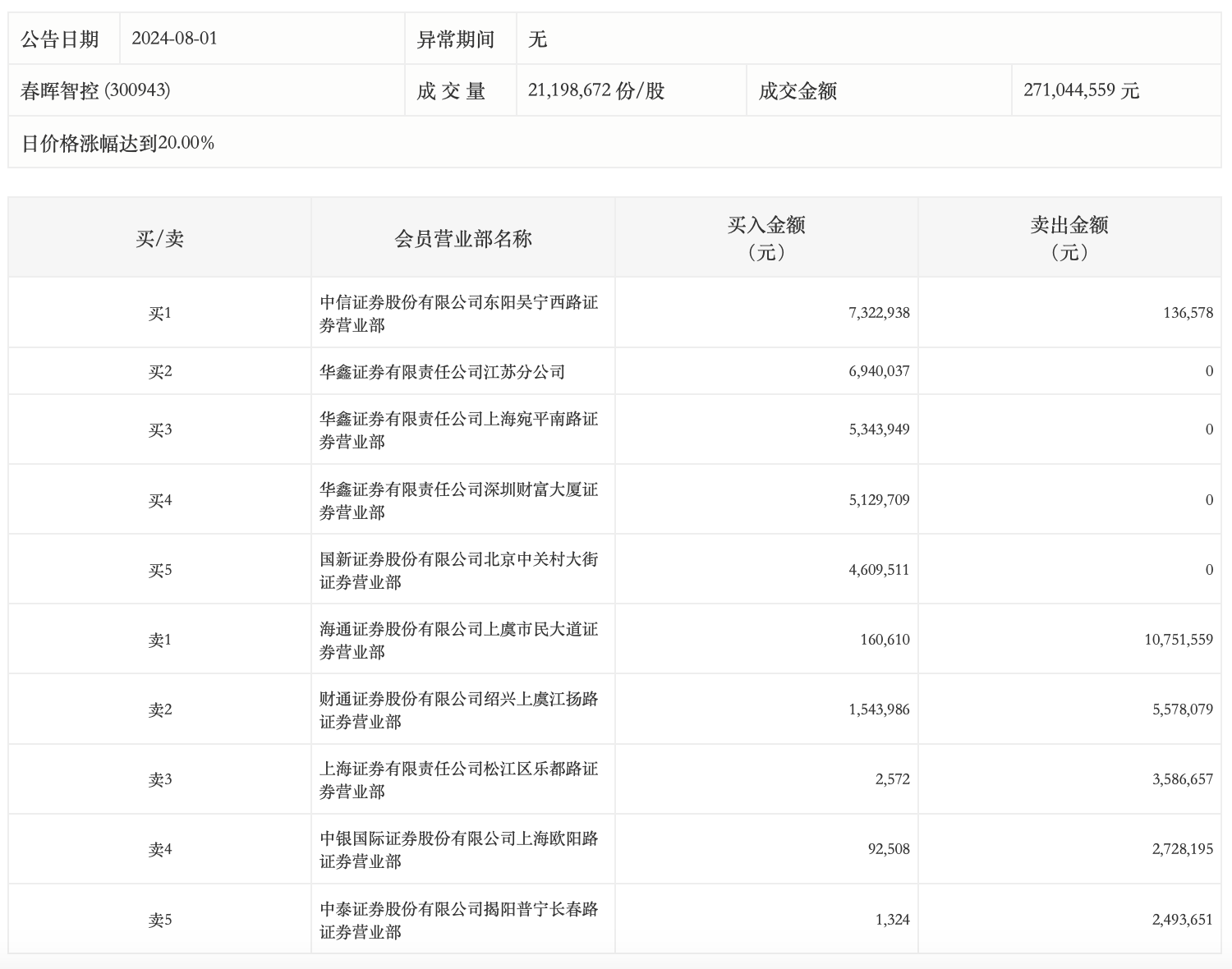
8月1日,春晖智控今日涨停,龙虎榜数据显示,上榜营业部席位全天成交5642.19万元,占当日总成交金额比例为20.82%。其中,买入金额为3114.71万元,卖出金额为2527.47万元,合计净买入587.24万元。
具体来看,知名游资现身龙虎榜,炒股养家(华鑫证券有限责任公司上海宛平南路证券营业部)净买入534.39万元。此外,中信证券东阳吴宁西路证券营业部、华鑫证券江苏分公司分别买入732.29万元、694.00万元;海通证券上虞市民大道证券营业部、财通证券绍兴上虞江扬路证券营业部分别卖出1075.16万元、557.81万元。

评论