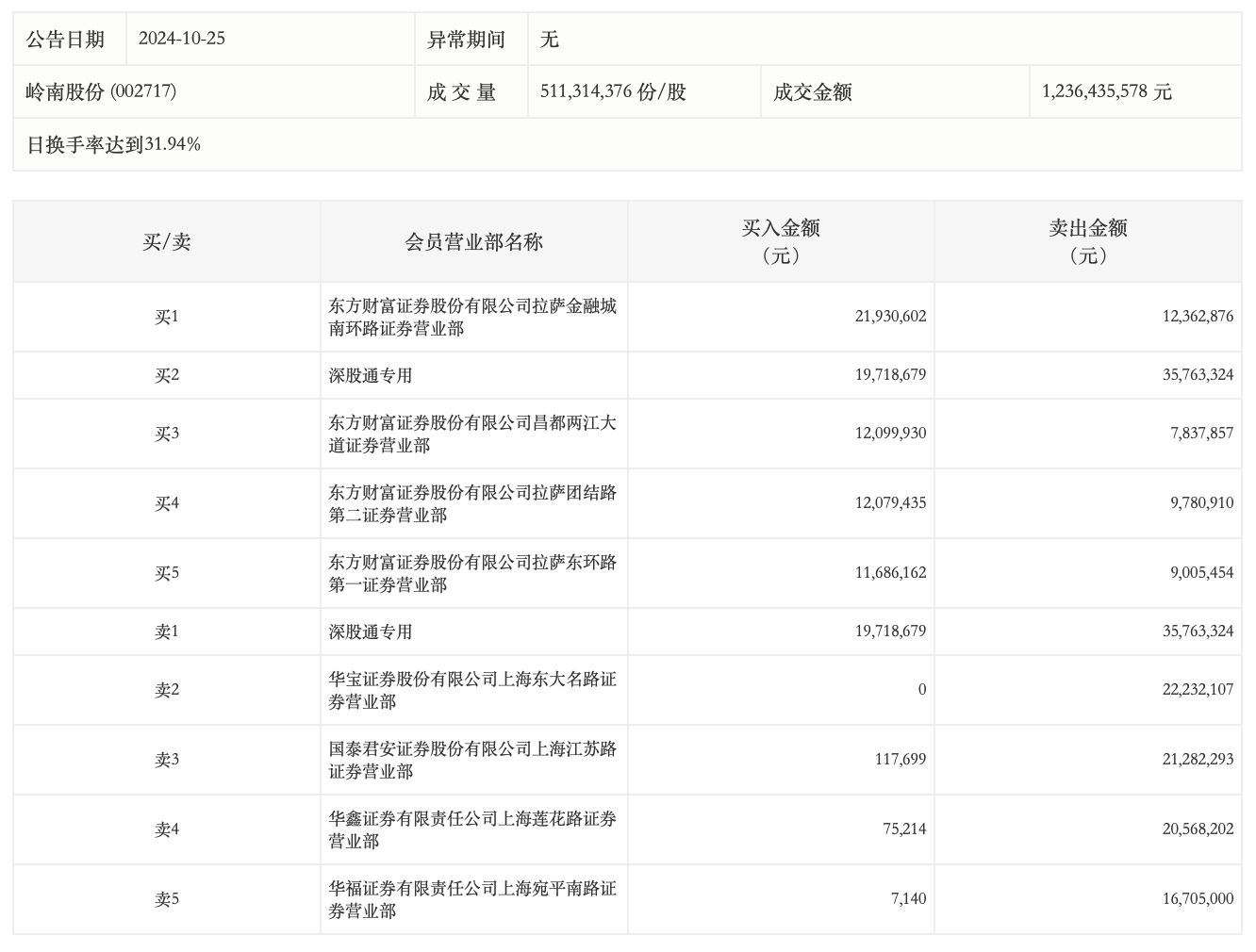
10月25日,岭南股份今日涨停,龙虎榜数据显示,上榜营业部席位全天成交2.33亿元,占当日总成交金额比例为18.86%。其中,买入金额为7771.49万元,卖出金额为1.56亿元,合计净卖出7782.32万元。
具体来看,知名游资现身龙虎榜,章盟主(国泰君安证券股份有限公司上海江苏路证券营业部)净卖出2116.46万元。此外,东方财富证券拉萨金融城南环路证券营业部、深股通专用分别买入2193.06万元、1971.87万元;深股通专用、华宝证券上海东大名路证券营业部分别卖出3576.33万元、2223.21万元。

评论