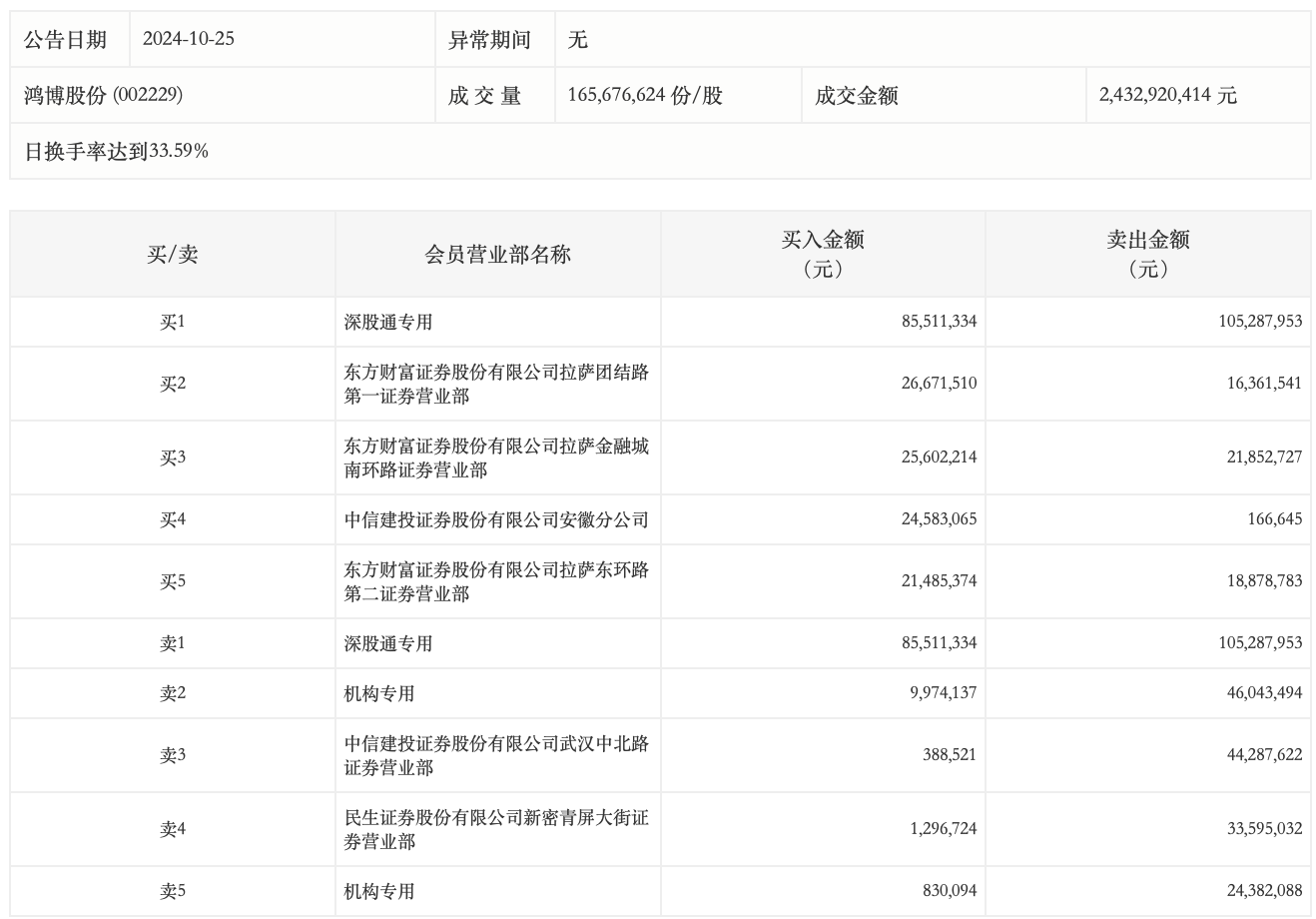
10月25日,鸿博股份今日涨停,龙虎榜数据显示,上榜营业部席位全天成交5.07亿元,占当日总成交金额比例为20.85%。其中,买入金额为1.96亿元,卖出金额为3.11亿元,合计净卖出1.15亿元。
具体来看,机构买入1080.42万元,卖出7042.56万元,合计净卖出5962.14万元。此外,深股通专用、东方财富证券拉萨团结路第一证券营业部分别买入8551.13万元、2667.15万元;深股通专用、中信建投证券武汉中北路证券营业部分别卖出1.05亿元、4428.76万元。

来源:界面新闻
10月25日,鸿博股份今日涨停,龙虎榜数据显示,上榜营业部席位全天成交5.07亿元,占当日总成交金额比例为20.85%。其中,买入金额为1.96亿元,卖出金额为3.11亿元,合计净卖出1.15亿元。
具体来看,机构买入1080.42万元,卖出7042.56万元,合计净卖出5962.14万元。此外,深股通专用、东方财富证券拉萨团结路第一证券营业部分别买入8551.13万元、2667.15万元;深股通专用、中信建投证券武汉中北路证券营业部分别卖出1.05亿元、4428.76万元。

评论