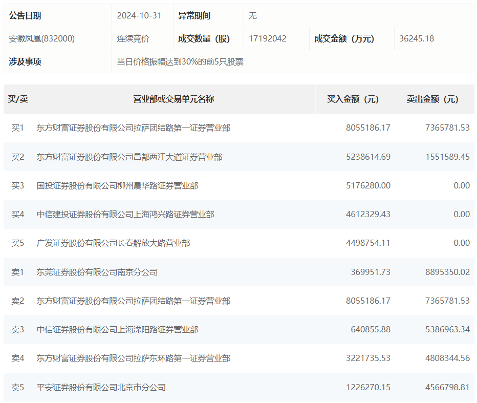
安徽凤凰今日涨11.73%,龙虎榜数据显示,上榜营业部席位全天成交6561.48万元,占当日总成交金额比例为18.1%。其中,买入金额为3304.0万元,卖出金额为3257.48万元,合计净买入46.51万元。
具体来看,知名游资现身龙虎榜,孙哥(中信证券股份有限公司上海溧阳路证券营业部)净卖出474.61万元。此外,东方财富证券拉萨团结路第一证券营业部、东方财富证券昌都两江大道证券营业部分别买入805.52万元、523.86万元;东莞证券南京分公司、东方财富证券拉萨团结路第一证券营业部分别卖出889.54万元、736.58万元。

评论