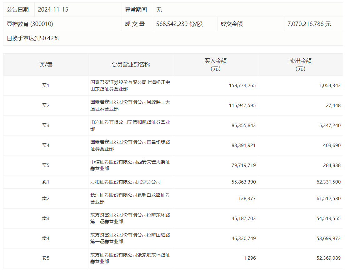
豆神教育今日涨停,龙虎榜数据显示,上榜营业部席位全天成交9.62亿元,占当日总成交金额比例为13.61%。其中,买入金额为6.71亿元,卖出金额为2.92亿元,合计净买入3.79亿元。
具体来看,知名游资现身龙虎榜,方新侠(中信证券股份有限公司西安朱雀大街证券营业部)净买入7943.49万元。此外,国泰君安证券上海松江中山东路证券营业部、国泰君安证券河源越王大道证券营业部分别买入1.59亿元、1.16亿元;万和证券北京分公司、长江证券昆明白龙路证券营业部分别卖出6233.15万元、6151.25万元。

评论