界面新闻记者|马悦然
曾被商业航天市场寄予厚望的长光卫星上市失败。
长光卫星原计划登陆科创板。12月4日,上海证券交易所官网显示,其IPO已经终止,原因是长光卫星及保荐人海通证券申请撤回申请文件。这也宣告该公司长达两年的上市计划失败。
长光卫星对泰伯网表示,虽然申报以来推进相对顺利,但受股权冻结及美国特别指定国民清单(SDN)等因素影响,最终上市执行到位还需要较长时间,结合公司目前的经营情况和未来融资计划,公司调整了现有上市计划。故主动撤回上市申请,后续将再择机申报上市。
界面新闻就此事宜联系长光卫星,但未能拨通其官方电话。
SDN制裁名单是美国政府为了维护国家安全利益而设立的一种出口管制措施名单,是美用来实施经济制裁的重要工具之一。2023年,美国以“向俄罗斯提供遥感卫星使用权”为由,将长光卫星列入了制裁名单。

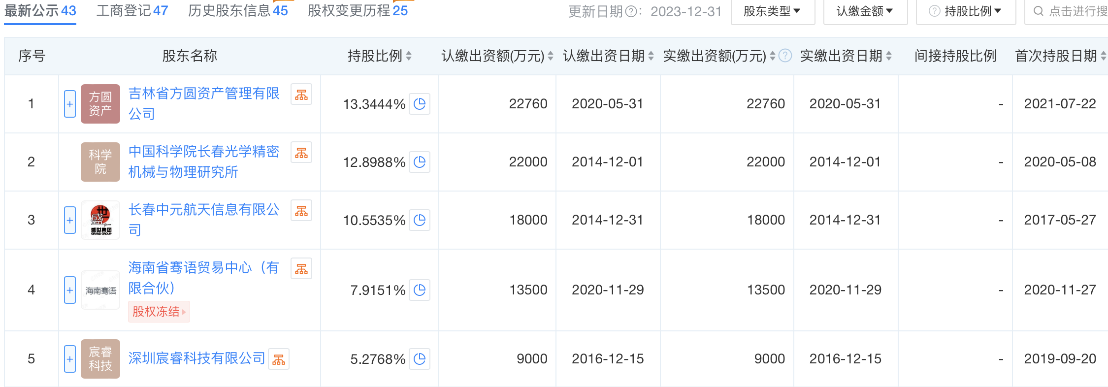
据天眼查显示,长光卫星确实存在股权冻结情况。三起案件被执行人均为海南省骞语贸易中心(有限合伙)公司(下称骞语贸易),共涉及长光卫星股权数额3000万元。
骞语贸易为长光卫星第四大股东,持股比例为7.9%。2020年,该公司对长光卫星出资额达到1.35亿元。
2022年,长光卫星开启上市进程。
当年12月23日,上交所受理了该公司IPO申请。今年6月,长光卫星更新了去年相关财务数据,9月财务资料再过有效期,上交所提示需要补充提交,但后续再无更多动态。
长光卫星成立于2014年,总部位于长春市,注册资本达到19.7亿元。该公司专注于商业航天领域,是国内第一家集卫星研发制造、运营管理和遥感信息服务于一体的全产业链商业遥感卫星公司。
商业卫星是商业航天的重要应用场景之一,卫星可应用于通信、遥感、导航等多个领域。
2015年10月7日,由长光卫星自主研发的“吉林一号”组星成功发射,开创了中国商业卫星应用的先河,同时也创造了由一个研发团队一箭成功发射四星的历史。
招股书显示,长光卫星自主建设并运营管理着目前全球最大的亚米级商业遥感卫星星座“吉林一号”,能够为客户提供高时间分辨率、高空间分辨率、高光谱分辨率、快速广域覆盖的卫星遥感数据以及以卫星遥感数据为基础的空间信息综合应用服务。
“吉林一号”一期工程由138颗涵盖视频、高分、宽幅、红外、多光谱等系列的高性能光学遥感卫星组成。截至目前,长光卫星通过25次成功发射,实现117颗“吉林一号”卫星在轨运行。
凭借在卫星平台和空间光学有效载荷方面的核心技术积累,长光卫星也能够为客户提供定制化的卫星制造及相关服务,包括卫星整星及部组件、试验与测试服务、搭载服务、冠名服务等。
长光卫星原计划通过IPO,发行不超过2.3亿股,募资26.8亿元。扣除发行费用后,将投资于“吉林一号”卫星星座建设项目(二期)、“吉林一号”生态开放商城建设项目、“吉林一号·共生地球”建设项目以及偿还银行贷款。
长光卫星的背后是吉林省政府、长春光机所和一众技术骨干组成的股东。这家公司也是由“中国光学摇篮”长春光机所孵化的企业。
天眼查显示,长光卫星目前最大股东为吉林省方圆资产管理有限公司,后者是吉林省国有资本控股企业,持股比例约13.3%;第二大股东是中国科学院长春光学精密机械与物理研究所,持股比例为12.9%。
现任长光卫星董事长、总经理的宣明,在1990年12月-2014年12月,曾历任长春光机所研究员、副所长、党委副书记、党委书记、所长。
值得一提的是,长光卫星股权相对分散,不存在控股股东和实际控制人,这意味着其存在决策效率低下、贻误业务发展机遇的风险,进而对公司经营业绩造成不利影响。同时,分散的股权结构导致长光卫星上市后有可能成为被收购的对象,从而导致控制权发生变化,给其生产经营和业务发展带来潜在风险。
作为一家商业公司,长光卫星至今未实现盈利。2019-2021年,其分别亏损3.9亿元、3.9亿元、2.2亿元,2022年上半年亏损2.1亿元。
同期,该公司经营活动产生的现金流量净额分别为-1.98亿元、-1.24亿元、-0.48亿元和0.71亿元。
长光卫星称,尚未盈利且存在累计未弥补亏损的原因是,其致力于建设“吉林一号”卫星星座,每年需要承担较大的卫星折旧成本及较高的研发投入。同时从建设“吉林一号”卫星星座至形成系统的服务能力需要一定过程。相比较国外商业航天领域,我国商业航天起步较晚,商业遥感卫星产业的发展需要经历一个培育过程,导致前期公司销售规模较小,销售收入不能覆盖同期发生的卫星折旧成本、研发费用、人员成本等支出。
长光卫星表示,仍存在未来一定时期无法盈利且无法进行利润分配的风险。
长光卫星还说明了在轨卫星无法正常工作的风险。招股书显示,若未来长光卫星在轨卫星出现故障不能正常工作,使得公司无法获得符合客户特定需求的遥感数据,或公司遥感数据的质量和数量不足以支撑未来公司的产品开发,则公司的业务经营将受到负面影响。
目前国内卫星遥感数据应用下游用户主要集中于央企及其下属单位、政府机构及事业单位、高等院校及科研院所、军方单位等,面向一般性企业用户的常规应用服务正在快速拓展,但面向大众用户的应用仍处于探索初期。因此,长光卫星还面临着市场规模发展不达预期的风险。
除了长光卫星,国内卫星遥感信息服务业务同行业企业还包括中科星图、航天宏图、欧比特等。



评论